家電業務失速,深康佳A聚焦MLED芯片
张志峰

(文/觀察者網 張志峯 編輯/周遠方)
近年來,隨着國內家電消費市場進入下行週期,作為央企華僑城集團旗下的大型消費電子上市平台,康佳集團(下稱“深康佳A”)不得不主動求變。
登上“鴻蒙概念”和“網約車”概念順風車
就在不久前,以往消費者印象中的家電製造商深康佳A新增“鴻蒙概念”股,加之不久前受到蘿蔔快跑熱度影響,“網約車”概念活躍,企業5天收穫4個漲停板,着實賺足了投資圈眼球。
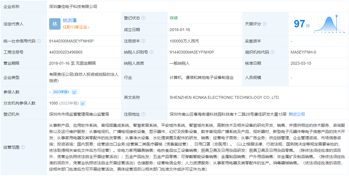
關於“鴻蒙概念”,深康佳A在回覆投資者提問時表示,主要系全資子公司深圳康佳電子科技有限公司此前加入了華為開源生態使能合作協議。
天眼查資料顯示,深圳康佳電子科技有限公司成立於2018年,註冊資本10億元,以從事計算機、通信和其他電子設備製造業為主。

按照公司財報披露,其間主要涉及深康佳A對於存儲、光電等領域的深度佈局。
其中,存儲領域主要是進行存儲相關產品的封裝、測試及銷售;光電領域主要聚焦Micro LED及Mini LED(下稱“MLED”)芯片、巨量轉移、顯示三大業務板塊,推進光電業務由技術研發向產業化發展轉型,產業化後營業利潤來源於產品成本與銷售價格的價差。
深康佳A認為,MLED是未來顯示技術的主流趨勢和發展方向,產業鏈分為上游芯片製造和巨量轉移、中游面板製造、下游整機應用四個主要環節。MLED行業應用廣泛,擁有廣闊的應用市場。
而企業涉足“網約車”概念,則源於其參股公司飛的科技(深圳)有限公司。
天眼查資料顯示,飛的科技僅是華僑城集團旗下一家註冊資本2841萬元、參保人數21人的小型軟件和信息技術服務企業,但該公司擁有完備的網約車平台經營資質和運營牌照,旗下的“喜行約車”已獲得廣州、成都、重慶、西安、長沙、南昌、貴陽、天津、瀋陽、長春、哈爾濱、佛山、東莞、中山、珠海、惠州等全國四十幾個城市的網約車平台經營許可並在持續增加中,目前已成為高德全國戰略合作伙伴。飛的科技自主研發“飛天”智能運力管理SaaS系統和“梧桐”智能流量聚合SaaS平台,以技術和管理效率為行業和合作夥伴賦能。

據國泰君安研報,蘿蔔快跑在武漢的商業模式成功有望異地複製,自動駕駛或將挑戰出租車網約車行業,投資方向主要有三個:一是,掌握自動駕駛技術的互聯網公司;二是,為互聯網公司代工整車及零部件或IT服務的產業鏈企業;三是,自動駕駛基礎設施車路雲相關企業。
老牌家電企業深康佳A似乎正在因此煥發“第二春”。
家電業務內部改革動作頻出
但事實上,目前公司的半導體業務仍處於產業化初期,投入較大且尚未實現規模化及效益化產出,“網約車”平台經營資質和運營牌照看上去則更像企業的“閒來之筆”,就傳統消費電子主業而言,銷售下滑及長期虧損仍是企業急需解決的核心問題。

根據日前披露的2024年半年度報告,上半年深康佳A推進業務結構調整,主動優化了部分與主業協同性不強且毛利水平不高的業務,導致公司營業收入及淨利潤指標承壓,實現營業收入54.13億元,同比幾乎腰斬;歸母淨利潤虧損10.88億元,虧幅擴大;加之新興業務投入期,經營活動產生的現金流-4.39億元。

從營收構成來看,彩電及冰箱、洗衣機等白電產業仍是主力。
奧維雲網統計數據顯示,2024年上半年,國內彩電市場零售量為1351萬台,同比下降7.9%。未來隨着5G、物聯網、人工智能、新型顯示等新興技術與消費電子產品的融合以及各類消費政策的出台,彩電行業結構升級趨勢將延續。
上半年,深康佳A彩電國內業務積極調整銷售策略,優化產品結構,收入規模及毛利總額同比有所提升,經營質量逐步改善。國外業務方面,其營銷範圍遍佈亞太、中東、中南美以及東歐等多個區域市場。值得關注的是,憑藉前瞻性的戰略佈局和強大的技術研發能力,康佳日前宣佈推出了全球首款23萬+級分區、110英寸8K分辨率Mini AI-LED ——110 A8 Ultra新品Mini背光電視。
白電業務方面,深康佳A通過併購“新飛”品牌,加強了白電品牌基礎;通過合資成立寧波空調生產基地,搭建了自身空調製造能力;通過併購倍科(滾筒洗衣機)中國工廠,補齊了滾筒洗衣機技術短板;通過新建西安智能家電產業園,探索發展洗碗機業務。另外,公司正在內部優化“研產供銷服”各鏈條,外部整合渠道資源,與上游供應端、下游渠道端實現渠道複用,不斷改善白電業務產品銷售結構和競爭力。
不斷夯實核心競爭力
面對新發展格局,康佳集團去年確立了“一軸兩輪三驅動”的發展框架,即以電子科技產業為發展軸心,“兩輪”以消費電子、半導體為發展主線,“三驅動”以產品業務、製造業務、國際業務為主引擎。
在製造能力方面,深康佳A對安徽、東莞、遂寧、新鄉等地生產製造基地進行了智能化升級改造,其中安徽康佳工廠獲得“國家智能製造示範工廠”稱號,智能製造水平達到行業先進水平。
在研發方面,深康佳A構建了“研究院+重點實驗室+產品研發中心”的三級研發體系,與各大高校或科研機構建立人工智能物聯網綜合實驗室、5G超高清實驗室,建立院士工作站,構建了與產業佈局相匹配的技術研究聯盟,擁有近百項核心關鍵技術和約1500人的研發隊伍,並在Micro LED項目上引入百位行業技術人才。
在營銷渠道方面,深康佳A創新渠道變革,線上線下協同謀共贏,國內國外全力求發展。在線下渠道,公司在全國各省市設有48個分公司、300多個辦事處、5000多個售後服務點,營銷及服務網絡遍及全國;在線上渠道,公司入駐天貓、京東、蘇寧、唯品會、拼多多等電商平台,開拓直播電商業務發展,為業務發展謀求新的增長極;在海外渠道,公司業務涵蓋拉美、歐洲、亞太等多個國家和地區,擁有健全的營銷網絡。在人力資源方面,公司擁有具備豐富管理經驗和行業經驗的高層骨幹,以及一支素質高、執行力強的團隊。
機構普遍認為,從宏觀角度看,在國家科技興國的大背景下,半導體產業作為新一代信息技術的核心基礎,正迎來前所未有的發展機遇。作為政企合作的典範,深康佳A近年來積極響應國家政策號召,持續深耕半導體科技領域,特別是在MLED技術的研發和應用上取得了顯著成果,有望憑藉其技術優勢和廣闊的市場前景,成為投資者關注的焦點。