LVMH中國曝2100萬貪腐案,高管套資近十年_風聞
时代财经-时代财经官方账号-聚焦于企业财经新闻,时代传媒集团出品。1小时前

圖源:圖蟲
作者 | 周嘉寶
編輯 | 黎倩
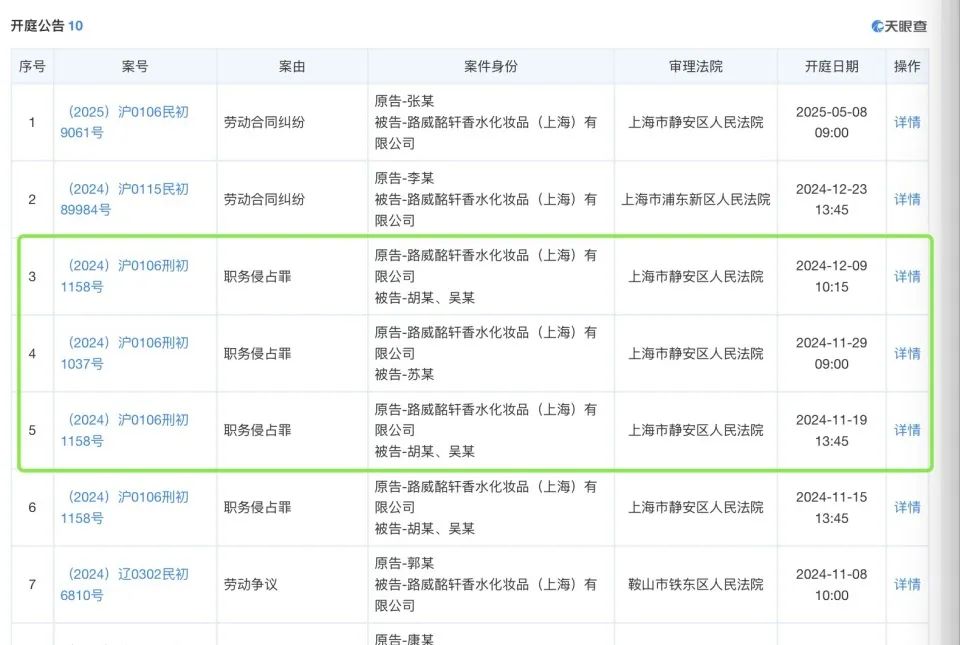
近日,上海市靜安區人民法院公示的兩起刑事案件判決書,牽出國際奢侈品巨頭LVMH中國公司的鉅額貪腐案。
據上海市靜安區人民法院案號為“(2024)滬0106刑初1037號”和“(2024)滬0106刑初1158號”的刑事判決書顯示,三名被告蘇某、吳某、胡某因對“某A有限公司”進行職務侵佔,分別處以罰金並判有期徒刑兩年九個月、兩年三個月、兩年,均適用緩刑。

圖源:截自上海市高級人民法院官網
綜合天眼查信息,“(2024)滬0106刑初1037號”和“(2024)滬0106刑初1158號”涉及的“某A有限公司”,正是路威酩軒香水化妝品(上海)有限公司(後簡稱“路威酩軒香化”)。
官方資料顯示,路威酩軒香化是法國奢侈品具體LVMH集團於2000年成立,主要負責集團旗下部分香水化妝品品牌在中國的銷售,包括迪奧、嬌蘭、紀梵希、貝玲妃、玫珂菲、凱卓、帕爾瑪之水以及馥蕾詩等。天眼查工商年報顯示,該公司2023年員工人數為1204人。

圖源:天眼查截圖
根據判決書所述事實,在2015年至2023年間,路威酩軒香化培訓部高級總監應某,和培訓部經理崔某,通過虛構會務費、諮詢服務費、翻譯服務費等,夥同三名被告及其經營公司,從路威酩軒香化套取錢款。涉案金額超過2100萬元。
上述兩則案件判決書落款日期分別為2024年11月29日和2024年12月9日。涉案三名被告均已判刑,而兩名路威酩軒香化內部人員另案處理。
中國一直是LVMH集團香化業務的重要市場。LVMH集團2024年財報顯示,截至2024年12月31日,LVMH集團香化業務板塊銷售額同比增長4%達84.18億歐元,中國所在的亞洲地區(除日本外)貢獻佔比達30%。
如今,LVMH集團和其他奢侈品公司一樣在中國正面臨業績挑戰。截至2024年12月31日,LVMH集團亞洲地區(不包括日本)銷售額在第四季度同比下降了10%,全年則下降了11%。
2月24日,時代財經就本案細節、LVMH中國公司內控等問題,聯繫集團中國區域媒體聯絡人。對方表示,目前對此事“不予置評”,會將情況報至巴黎總部。
1
套取鉅額錢款,用於旅遊、子女培訓
涉案員工的職務侵佔行為在路威酩軒香化公司已長達近10年。
案號為“(2024)滬0106刑初1037號”判決顯示,在2019年至2023年間,路威酩軒香化培訓經理崔某經該公司採購部員工介紹,與蘇某等人取得聯繫,要求蘇某所經營公司通過虛構翻譯業務的方式,從路威酩軒香化套取錢款。被告蘇某經營公司從中分得25%至40%不等的“服務費”,剩餘款項則轉入崔某指定的個人賬户。
經審計,2019年4月22日至2023年2月15日期間,路威酩軒香化公司支付蘇某經營公司相關虛假業務訂單金額高達約1165.74萬元。其中約823.50萬元進了路威酩軒香化公司培訓經理崔某提供的個人賬户。
另據案號為“(2024)滬0106刑初1158號”的判決,2015年至2023年間,路威酩軒香化公司高級總監應某要求該案被告吳某通過虛構會務費、諮詢服務費的方式,從路威酩軒香化公司套取錢款供應某等人使用,具體操作由路威酩軒香化公司培訓部經理崔某與胡某進行對接。

圖源:圖蟲
經審計,2015年2月12日至2023年2月15日期間,路威酩軒香化公司支付被告經營公司虛假業務訂單金額達944.27萬元。其中,被告經營公司代為支付應某和崔某等個人消費累計金額達866.46萬元,這包括為應某、崔某代付的旅遊費用、子女培訓費用等。
2
消費巨頭掀反腐“風暴”
近兩年,多家外資消費企業相繼曝出反腐事件。
2024年6月,有自稱是阿迪達斯中國區員工在社交平台發佈舉報信,稱阿迪達斯大中華區市場部高級副總裁存在職場霸凌、收受供應商現金及房地產實物回扣等問題。6月下旬,阿迪達斯中國向媒體確認部分舉報屬實,涉及的一名高管和一名市場部員工已做離職處理。
彼時,阿迪達斯相關負責人表示,“阿迪達斯對不合規的行為持零容忍的態度,並致力於在中國市場塑造價值觀引領的制勝文化。”
對公司內部腐敗擺出“零容忍”態度的也不僅僅是外資消費企業。
今年2月,中國本土運動鞋服龍頭安踏集團亦發佈了包括10家企業在內的首批“永不合作主體清單”。
安踏集團還公佈,過去一年,通過內部審計、監察、稽核等相關措施,因嚴重舞弊觸犯集團紅線被辭退的員工58人,因涉嫌違法犯罪移交司法機關處理的內外部人員29人,違法犯罪金額1600萬元,直接涉案業務金額近億元,集團依據《供應商廉潔合規管理辦法》、《誠信廉潔協議》等規範處罰供應商及合作伙伴41家。
(歡迎轉載,開白請添加微信,ID:rafe0101)
-廣東時代傳媒集團出品-
