《絕區零》傷了員工的心,遠景能源把米哈遊告了_風聞
源媒汇-助力中国好公司!1小时前
文源 | 源媒匯
作者 | 利晉
編輯 | 蘇淮
遠景能源,國內最大的海上風電供應商之一;米哈遊,國內遊戲頭部公司之一,兩家不同行業且業務不存在關聯性的公司,竟然牽扯到一起。
6月11日,江蘇省江陰市人民法院審判遠景能源有限公司(原告,下稱“遠景能源”)與上海米哈遊網絡科技股份有限公司(被告,下稱“米哈遊”)及其控股公司上海交宅科技有限公司、上海米哈遊影鐵科技有限公司網絡侵權責任糾紛一案。
開庭公告 | 圖片來源於江陰市人民法院
關於案件審判情況,源媒匯致電江蘇法院服務熱線,對方稱“無法告知”;致電江陰市人民法院、致函遠景能源方面,截至發稿時亦未獲得回應。
這起案件,源於米哈遊旗下《絕區零》手遊中,設定的反派遊戲角色——“遠景公司”。遠景能源認為,該遊戲角色與公司名稱、商標存在高度相似性;此外,劇情對“遠景公司”做了負面描述或污名化處理,給遠景能源的名譽造成了極大貶低或損害。
經多次與米哈遊溝通協商無果,遠景能源一紙訴狀將對方告上法庭,案由為網絡侵權責任糾紛。
一個是虛擬遊戲角色,一個是實體經營公司,在這一刻竟然發生了碰撞。
除了狀告米哈遊侵權,遠景能源也對遠景投資集團有限公司(下稱“遠景投資”)及其控股公司提起了訴訟,案由包括不正當競爭糾紛、侵害商標權糾紛等。
關於對遠景投資提起訴訟的具體需求,遠景能源未能回覆源媒匯的詢問。
01
“碰瓷式”糾紛
2024年7月,米哈遊製作發行了一款都市動作冒險遊戲《絕區零》。僅兩天時間,《絕區零》官方宣佈,遊戲全球下載量超過5000萬。
用户中就包括遠景能源的一些年輕員工。他們發現,《絕區零》主線劇情中,知名工程集團“遠景實業”,以更短工期與更低成本競得舊都鐵線路重建工程項目,為了節約成本,提出使用炸藥爆破方式完成拆除舊地鐵線路,謊稱已遣散爆破區所有居民,但實際未撤出爆破區的居民並屏蔽區域信號。
圖片來源於《絕區零》遊戲
遠景能源法務人員對外透露,這些員工在玩遊戲時內心體驗很不好,看到遊戲中的角色會有代入感,遂將此事向公司反映,最終引起了重視。
源媒匯翻閲天眼查工商信息發現,截至發稿時,遠景能源對外投資的300家公司中,並沒有註冊含有“遠景實業”、“實業”名稱的公司。
遠景能源對外發送的材料中提及,遊戲中“遠景公司”的logo“VISION”,與遠景能源的商標“ENVISION”具有高度相似性,同樣在文字上有所體現,可能容易引起視覺效果混淆,進而導致遊戲角色與現實中遠景能源形成潛在關聯。
同時,遠景能源認為,遊戲對“遠景公司”做了包括壓縮成本、低價中標、暴力拆遷等惡劣行為描述,負面情節的設置嚴重損害了遠景能源的名譽,並在遊戲發行和傳播後,引發了公眾對兩者的討論,進而損害遠景能源的品牌和企業形象。
2024年7月中旬,遠景能源在發現上述問題後,立即致函米哈遊方面溝通,要求刪除《絕區零》遊戲有關“遠景”的情節和詞彙。但米哈遊認為遊戲情節為虛構,並拒絕了遠景能源的修改要求。
多番交涉無果後,今年4月27日,遠景能源一紙訴狀將米哈遊告上法庭。於是,一家能源公司、一家遊戲公司,意外發生了關聯。
截圖來源於天眼查
在這起糾紛中,《絕區零》遊戲中的“遠景公司”為一個虛擬角色、工程公司,受眾羣體為遊戲玩家;遠景能源為專注於風電、儲能的綠色科技企業,主要客户羣體為地方政府和電力建設、工程施工等企業。
關鍵點在於,“遠景公司”通過低價投標、惡性競爭等方式排擠同行獲得工程項目。而新能源領域建設項目中,使用國家資金投資或國家融資的項目必須公開招標,其餘項目可採用邀請招標方式,遠景能源主要通過招投標方式獲取訂單。
天眼查工商信息顯示,2025年至今,遠景能源作為供應商身份共中標118個項目,僅為2024年全年的40.27%。2022年至2024年,中標項目數量為204個、203個和293個。
對於“遠景公司”負面描述和污名化處理對公司投標、簽約合作是否造成實質性影響,源媒匯亦有郵件詢問遠景能源方面,截至發稿時未獲回應。
02
商標保衞戰
除了“遠景公司”外,另一個“遠景”也被遠景能源起訴了。
2024年8月,遠景能源與遠景投資就侵害商標權糾紛進行訴前調解,但雙方交涉無果。4個月後,遠景能源正式對遠景投資提起訴訟,案由為侵害商標權糾紛;同時,也對遠景投資關聯公司遠景科技(內蒙古)有限公司發起訴訟,案由為不正當競爭糾紛。
綜合遠景能源、遠景投資官網、天眼查工商信息顯示,遠景能源成立於2008年3月,核心業務包括智能風電、儲能、綠氫、遠景動力、遠景智能、遠景創投。其中,風電業務2022年起連續三年全球訂單量排名第一;儲能業務為全球一級儲能廠商,全球在運項目超過300個,出貨量超30GWh,在手訂單超50GWh。
遠景投資成立於2004年12月,產業佈局包括不良資產併購及重組、文旅文化、數字科技、消費品、生物醫療、新能源、新基建、汽車製造;其中,新能源業務聚焦光伏、風能、儲能、氫能等領域,風電光伏儲能技術、在美國、丹麥、德國、日本、新加坡等地設立研發中心。
在公司註冊時間上,遠景投資早於遠景能源。
在發展路徑上,遠景能源起家業務為風能,後續延伸到儲能、創投、氫能等業務;遠景投資起初經營主業為醫療投資管理,後涉獵房地產開發、生物醫療、數字科技、文化傳媒、新能源等領域。
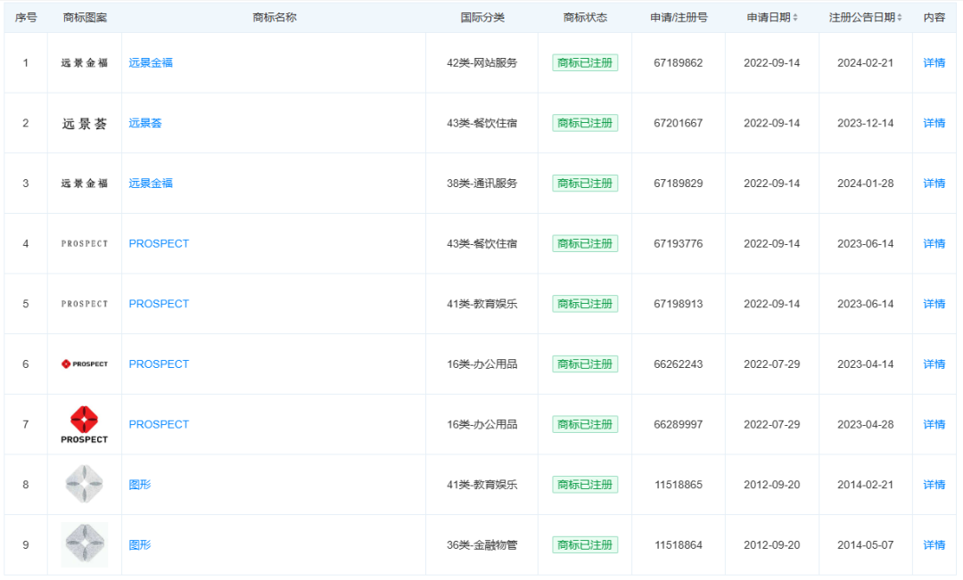
在商標註冊方面,遠景投資目前共有6個在申請註冊商標,有9個已註冊商標,英文名稱為“PROSPECT”,帶“遠景”名稱商標為“遠景金福”、“遠景薈”;遠景能源共有378個已註冊商標,其中持有“遠景”、“遠景新能源”部分類別商標,同時在申請註冊商標有127個,包括“遠景”部分類別商標。

截圖來源於天眼查
其中,雙方都申請註冊“遠景”第36類金融物管的商標,遠景投資申請時間為2023年3月,遠景能源則為2024年10月。
相比商標權糾紛,遠景能源可能更看重的是,遠景投資及其背後實控人遠景科技集團,近幾年陸續成立帶“遠景”字眼的地方子公司,存在業務惡性競爭或給外界帶來混淆的可能性。
早在2023年6月,遠景能源就發佈聲明稱,公司發現市場上有人用“遠景”或“遠景科技”之名註冊公司,從事業務涉及“智能風電、智能光伏、動力電池”等領域,與公司業務領域基本重合。
圖片來源於遠景能源官網
儘管遠景能源未指出具體企業,但在這份《聲明》之前,遠景投資及遠景科技集團陸續大規模成立“遠景”、“遠景科技”子公司。
比如,2019年12月成立遠景動力科技(深圳)有限公司;2020年3月成立遠景科技(成都)有限公司、12月成立遠景(廣東)數字技術有限公司;2022年9月成立遠景建設有限公司、12月成立景能源技術有限公司;2023年1月成立遠景動力技術有限公司等。
面對遠景能源的控訴,遠景投資選擇了“硬剛”,在訴前調解環節便進行了上訴,二審以上訴人身份起訴遠景能源,案由也是侵害商標權糾紛。
截圖來源於天眼查
與米哈遊、遠景投資的侵權糾紛,遠景能源勝算幾何,尚是未知數。但在“遠景”商標名譽上,遠景能源做出了誓死守護。
部分圖片引用網絡 如有侵權請告知刪除