又一家地方文旅投集團暴雷背後_風聞
旅界-旅界官方账号-跟踪时代浪潮,讲述文旅商业好故事。1小时前

從喊出“五年上市”到集體破產清算。

▲
領域 |景區、旅行社
欄目 | 文旅商業評論
01
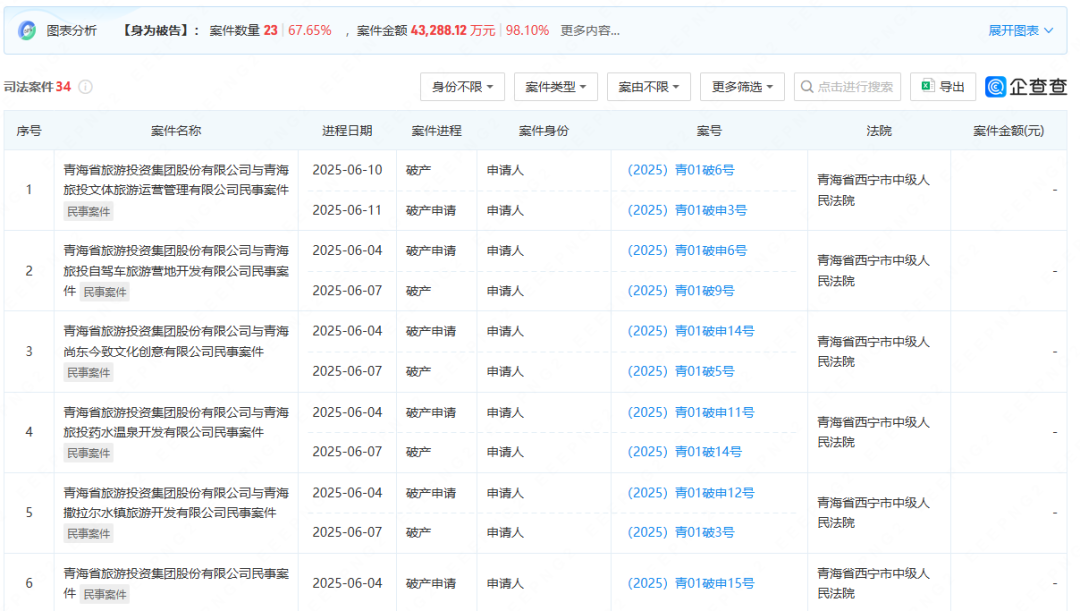
最近,青海省旅遊投資集團股份有限公司及其下屬公司一起宣告破產在業內引起相當大程度的關注。
昨天,我剛把青海旅投的《法院公告》發給青海一家當地平台公司上班的朋友看,他立馬就炸了:“旅投整個下屬都破產了?這可是省屬一級的大公司,怎麼連合並重組都沒有,直接宣佈4.8億註冊資本‘清空’?”

不過下一秒他又嘆了口氣:“其實也不稀奇,青海做旅遊不行,省旅投名下也沒幾個響噹噹的項目,青海連省投都能破產,一個旅投也不算啥了。”
這反應特別典型,震驚之餘,很快就無奈接受了現實。
畢竟今年6月這份《法院公告》,不只是青海省旅遊投資集團股份有限公司破產,它還把下面的十幾家子公司全帶走了:路遊網、撒拉爾水鎮、尚東今致、文體旅運營、自駕營地、融資擔保、藥水温泉、鐵航國際旅行社……
一串串名字列下來,像極了一張地方版“文旅清單”,直接清理到資產末端,每一家都是“帶病家屬”,這才是真正的“旅投一倒,骨牌全塌”。

如果回到2016年春天,這一切顯得格外諷刺,它曾是被寄予厚望的“省級文旅航母”,是“正規國資平台”,成立時説得響亮:
“三年投融資達到百億元,五年實現上市。”
那年在西寧搞成立大會,口號滿滿:
“堅持生態立省戰略,打造旅遊名省,推進‘一圈三線三廊道三板塊’,構建綠色發展型、扶貧民生型、品牌效益型、集約投資型企業……”
總之就是這家公司把能想的文旅關鍵詞都堆進去了。

講得確實挺好聽,做的也不含糊,青海旅投很快就出手收購了青海鐵航國旅、青藏國際會務公司等資產,還成立了好幾家二級平台。
看起來風生水起,結果十年過去,上市沒影,公司反而宣佈清算了。
更妙的是,一起申請破產的,不少就是當年“風風火火收來的寶貝”。
當然青海旅投並不是首例,早在2023年2月,河南洛陽的孟津文旅集團就被法院裁定破產,負債九千多萬,資產只值三千多萬。
這公司更慘,運營一個三彩小鎮項目都沒撐下來,三四年光景就進了“破產辦”。
現在看青海旅投也只是緊隨其後,體面地加入了地方文旅破產俱樂部。
當然,體面只是説説而已,有時候看這些公司公告,真不是在讀文字,更像在看一場集體許願失敗的儀式。
如果説過去這些地方文旅公司是在“講大故事”,那如今,故事講完了,只剩下清算單和笑話本。
02
你可能會問:一個省級國資文旅平台,靠着政府背書,怎麼還能把自己幹破產?
除了沒啥好的底層資產,答案很簡單——它不是做不下去,是根本沒打算做成。
從一系列公開新聞就能看得出來,這家公司“摔得這麼徹底”,不僅是因為它運營不行,更因為它領導“太行”。
我們先説人設。
這家公司原來的“管理三巨頭”全進去了。
董事長喇積元,被雙開。
副總馬尚德,洗錢、濫權、受賄,合併執行六年六個月。
總助丁某,濫用職權、投資踩坑、受賄,判了五年半。

一家公司,董事長、副書記、副總、總助輪番“團滅”,你説是倒黴,還是活該?
比如副總馬尚德,2018年就擅自拉人合作,搞了一個“青海旅投自駕車旅遊營地開發公司”。
聽着很上檔次,但地是別人家的,房也沒有產權。也不搞評估,不報上級,就這麼往裏投了2371萬,成了名副其實的“露營風險”。

再説總經理助理丁某。
他幹了一件非常經典的國企操作:收購一個“資不抵債、虧到懷疑人生”的公司。
這家公司叫“青藏國際會務公司”,名字高大上,內容沒會務,只有虧損。結果呢?丁某硬是把它買了,還沒讓原老闆補虧損。買完後,公司繼續虧,他還往裏倒錢,借款打款一個接一個。
最後結果:國有資產再損失3000多萬元。
講真,這些領導不當文旅公司高管真的可惜了,去搞“文旅詐騙訓練營”説不定能大火。
但話説回來,青海旅投的問題,不只是領導貪。
它的問題,是系統性的。
比如,丁某還主導了一個和首汽租賃合作的汽車融資項目,流程不合規,合同沒審清,執行中也沒人止損,最後又是一千多萬打了水漂。
為什麼他們能這麼做?
因為這是典型的“政企不分”模式——上級要求發展旅遊,平台就去湊項目;項目不能虧錢,但也不能真的賺錢。
聽起來玄學,但這就是很多地方文旅的真實生態。
不調研、不論證,只要“拍板快”,立項就能上。
項目沒人管,虧了沒人問,領導調走就算完事。
投資節奏比遊客入園還快,出了事才想起“我們是不是忘了算賬?”
不是青海旅投虧損“有多壞”,而是它“並不罕見”。
你看張家界、桂林、曲江,甚至河南孟津,都在講一樣的故事:文旅資源很好,盈利模型很爛,投資衝動很足,運營經驗為零。

青海旅投只不過是這出“地方文旅現代化進程喜劇”的最新一幕。
想當旅遊強省,結果強在了PPT裏,想搞產業轉型,最後轉成了債務轉包。
説到底,青海旅投的問題不是旅遊,而是把旅遊當成了“借殼搞基建”的渠道,講文旅的殼,做財政的錢,乾地產的活,收資產的賬。
你説它像不像房地產的“表弟”?
所以,結局也一樣——爆雷、清算、起訴、判刑。
故事講完了,舞台一片狼藉,我們這些觀眾只剩一句:三年百億沒看到,六年牢獄倒是真的。
03
有朋友問我,青海旅投破產一類的事情以後會不會越來越多?
我説,別看今天青海旅投“全員散夥”,明天還有更多“XX投”“XX文旅”“XX平台公司”走在同樣的路上,排着隊往債務大坑裏跳。
不信你仔細數數,全國哪個地方現在沒幾個“掛牌平台公司”?
城投、產投、文旅投、農投、交投……不整上三五個,領導下去都不好意思彙報工作。
這些平台背後,基本上都有一個大目標:講故事、搞項目、發債券,最好還能蹭上國家政策和地方財政。

文旅平台就是這其中最“容易落地”的選手之一,很多時候還承擔了幫地方融資的職責。
有資源、有講頭、還有政府背書,領導們最愛了。
但真正的問題是:它被當成了融資工具,而不是市場主體。
很多地方文旅公司成立的起點就很奇怪——不是因為有項目要做,而是因為有錢必須花。
你沒看錯,是“必須花”。
專項債要投出去、基建指標要報上去、產業鏈要顯得“完整”,於是地方平台公司一成立,馬上就得“編一個項目”。
這就出現了我們今天在全國各地看到的景象:
一座仿古街,開了三年,商户換了五輪,遊客還以為在拍鬼城片場;
一個演藝小鎮,啓動前就説“年入億級”,實際年虧2000萬;
一個城市綜合體,辦公樓租不出去,商場不開張,連保安都不好意思站正門。
這些項目有共性:PPT做得天花亂墜,預算批得行雲流水,運營沒影,遊客沒來,賬也永遠算不明白。
有人問責嗎?幾乎沒有。
因為很多時候,做文旅項目不以效果論英雄,而以流程合規論業績:立項有文件,調研有照片,開園有剪綵,投錢有憑證——那就是政績。
至於人來沒來、賺沒賺錢、能不能持續?那是下一任的事了。
你要真去追問一句:“為啥虧錢了?”
對方可能反問你:“你沒看到我們去年遊客同比增長了17%嗎?”
是增長了,前一年可能遊客是100人,今年是117人,但離盈利隔着兩座山和一條溝。
底層邏輯的錯位,才是最致命的病。
我們看青海旅投,初看是腐敗,中看是投資失控,深看是機制出問題:
融資邏輯大於運營邏輯;
立項決策靠行政指令;
虧損之後沒有問責閉環;
企業定位從一開始就不是“文旅企業”,而是“政策工具”。
這才是“百億夢”幻滅的真正原因。
你以為它是青海旅投的問題,其實這是整個地方平台文旅的通病。
最根本的改變,只有一句話:誰舉債,誰負責;誰決策,誰擔責。
如果還指望“政府兜底、銀行讓利、投資套現”,那平台企業就永遠是個“殼”,沒運營、沒能力、也沒未來。
文旅這事,本來是能賺錢的。
只要你踏實做服務、聚焦運營、長期打磨品牌,哪怕遊客不是爆滿,也能良性循環。
但前提是它得是個企業,不是個幹PPT和刷績效的幌子公司。
今日話題:你如何看待又一家地方文旅投集團暴雷?歡迎在下方留言框與旅界君互動。
————END ————