手術被叫停背後,近1700萬阿爾茨海默病患者的真實困境_風聞
心之龙城飞将-13分钟前
央視網
2025年07月14日 09:00:00 來自北京市
就在鄧媽媽準備帶外婆來北京做手術的前一天,一個突如其來的消息瞬間打亂了鄧媽媽的計劃。
2022年,小鄧外婆在老家湖南常德確診阿爾茨海默病後,為了照顧老人,鄧媽媽提前辦理了退休,在家全職照顧她。

圖源:視覺中國 圖文無關
去年年初,鄧媽媽看到不少醫生的自媒體賬號在宣傳一種手術,稱“可以完全治癒阿爾茨海默病,讓患者回到患病前的狀態。”她諮詢了常德當地醫院,被告知“當地做不了這個手術,可以去北京試試”。
經過了大半年的觀察和準備,今年7月,鄧媽媽聯繫上了北京一家可以做該手術的三甲醫院,正準備帶老人來北京就醫,就看到國家衞健委禁止將“頸深淋巴管/結—靜脈吻合術(以下簡稱LVA)”應用於阿爾茨海默病(以下簡稱“AD”)治療的消息。
這項技術由顯微外科醫生首創,最初用於治療淋巴水腫,後被“跨界”拓展至神經退行性疾病領域。雖被部分醫療機構宣稱為“認知逆轉術”,卻因缺乏高質量循證證據、適應證模糊及長期療效存疑被緊急叫停。

圖源:視覺中國 圖文無關
“我們也是抱着試一試的心態,萬一好轉了呢?”每天擦洗、三餐餵飯、照顧大小便……由於長期照護失智老人太費心神,鄧媽媽願意為了這“渺茫的希望”支付幾萬元的手術費,並承擔手術風險。
家屬對於手術的期待,折射出的是中國約1699萬阿爾茨海默病患者面臨的系統性防治困境。一方面,基層早篩和診斷能力薄弱,超70%患者被漏診;另一方面,康復護理資源稀缺,家庭照護負擔重。對於阿爾茨海默病,叫停手術之外,我們還能做些什麼?

被叫停的手術
在北京回龍觀醫院,燕江陵每次出門診都會遇到患者諮詢“阿爾茨海默病手術”。作為老年精神科病區主任,她從事老年精神病學、老年人記憶障礙的診斷、治療已有20餘年。去年年底,她第一次聽説了阿爾茨海默病可以通過手術治療,並開始深入瞭解。
據燕江陵介紹,據燕江陵介紹,LVA是通過顯微外科技術,將淋巴管或淋巴結與鄰近的靜脈進行吻合的手術,最初用於治療淋巴水腫,但自2018年起,它被跨界拓展至阿爾茨海默病治療領域。
燕江陵瞭解到,在近兩年時間內,LVA已在國內幾十家醫院開展,部分經該手術治療的患者,在術後緩解了部分症狀。不過她認為,判斷某治療方案是否有效需要大規模的隨機對照臨牀試驗,積累足夠多的安全性、有效性數據。

圖源:視覺中國 圖文無關
“療效證據不充足、手術有一定風險,可能是國家叫停LVA的原因之一。”燕江陵表示,AD病因複雜、發病機制尚不十分明確,澱粉樣蛋白的致病影響並非唯一,僅靠加速代謝不一定能適合所有患者。“目前公開發表的能支持該手術確切有效的權威數據還比較少,短期效果報道較多,長期效果還需要持續追蹤。”
同時,LVA的手術也有一定風險。“老年患者手術耐受性相對較弱,且術後一部分患者可能會出現譫妄的風險,從而可能對病情產生一定影響。”燕江陵説道。

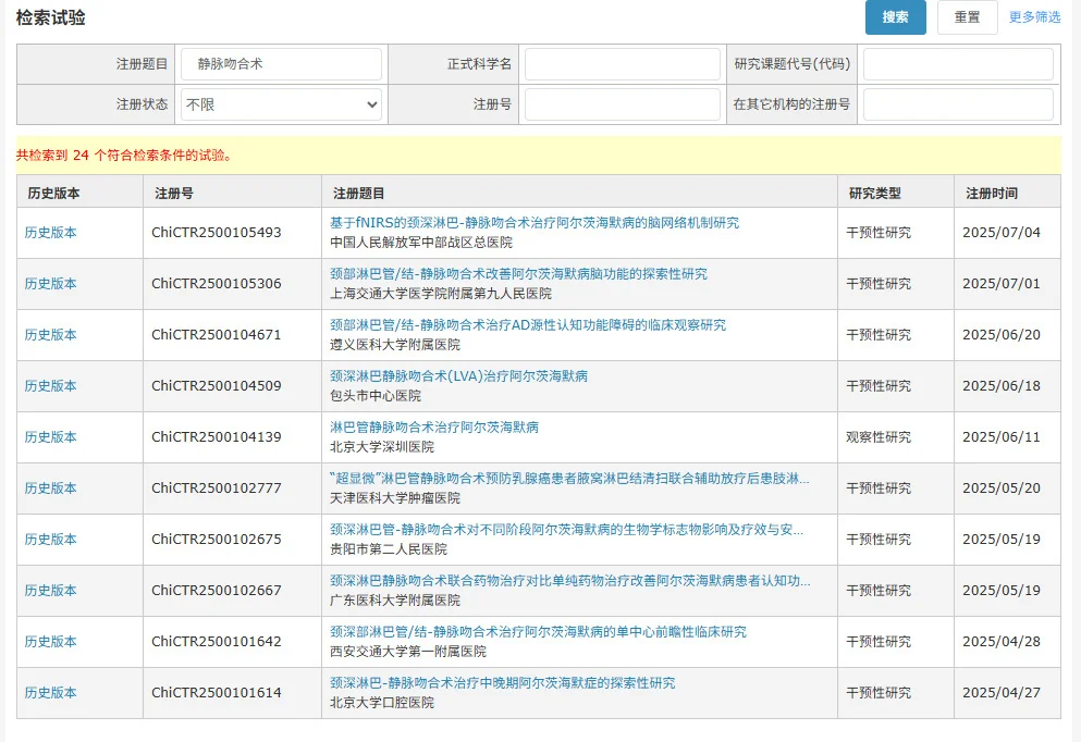
圖源:中國臨牀試驗註冊中心網站
記者檢索發現,在中國臨牀試驗註冊中心,只有20項已註冊的LVA治療阿爾茨海默病的臨牀試驗。然而,出於商業利益考慮,國內部分醫院已將其作為常規治療開展,不少醫學自媒體將其包裝為“革命性突破”,宣稱“百分之百治癒”。據燕江陵觀察,目前開展LVA的醫院收費標準不統一,收費幾萬到十幾萬不等,最高高達21萬元。
值得注意的是,對於LVA,政策仍留有餘地。國家衞健委表示,在具備充分臨牀前研究證據的前提下,支持符合條件醫療機構經倫理審查後規範開展臨牀研究;將根據研究進展適時評估該技術的臨牀應用。“叫停的目的是規範該醫療行為,因此禁令不是終點,而是一個新起點。”燕江陵評價道。

更緊迫的挑戰
在禁令之外,AD患者家屬對於手術的渴望和期待,更值得關注。
“在世界範圍內,AD的治療手段都相對有限。”據燕江陵介紹,目前治療手段主要有藥物治療(如膽鹼酯酶抑制劑、美金剛)和非藥物治療(如認知功能訓練、心理干預等),效果有限,個體差異大,無法做到“立竿見影”。而新上市的靶向藥,如侖卡奈單抗和多奈單抗,短期觀察效果較好,但治療僅對輕症患者,且未納入醫保,年治療費用在20萬元左右,價格不菲。

圖源:視覺中國 圖文無關
“AD是一種複雜的神經退行性疾病,所有的治療都只能延緩病情進展,無法逆轉或根治。”加上它發病隱匿,潛伏期長,因此預防從輕微認知障礙進展到痴呆是解決病症的有效途徑。據浙江省某大型三甲醫院院長王明德(化名)介紹,如果及早對可改變的危險因素進行干預,可預防或延遲約40%的痴呆發生。
AD是老年期痴呆最常見的類型。然而,當前我國老年期痴呆篩查體系尚不健全。根據一項針對北京、西安、上海、成都四地區患者衞生保健現狀調查顯示,痴呆漏診率為73.1%,僅有2.0%的痴呆患者接受抗痴呆藥物治療,且療效甚微。
首先,公眾對疾病認識有待提升。根據2022年阿爾茨海默病防治協會發布的調查,我國AD人羣總知曉率已達95.9%,但因自覺記憶力減退、注意力無法集中而主動去醫院就診的比例僅12.9%。
“現在很多老人沒有子女在身邊,沒人注意到他記憶力衰退等早期症狀;或者子女注意到了,也會覺得‘年紀大了記憶不好很正常’,沒有引起重視。”燕江陵發現,不少老人來醫院就診時已經處於疾病中晚期,治療效果不佳。

圖源:視覺中國 圖文無關
其次,基層早期篩查和治療能力不足。全國醫療系統未普遍設置認知門診,非精神專科醫院對老年期痴呆識別診斷能力不足。“目前全國開設的記憶門診超660個,與發達國家差距仍然較大,”王明德估算,瑞士800萬人口擁有39個記憶門診,我國若要達到同樣的密度則需要6338個記憶門診。
多數基層醫療衞生機構尚不具備治療條件。據燕江陵觀察,我國老年期痴呆治療和康復服務主要由大型綜合醫院神經科、老年病科及精神病科等專科醫生提供,二級醫院普遍缺乏認知障礙專科門診。“不典型病例用到的PET-CT(正電子發射計算機斷層掃描),很多基層醫院沒有這個設備。”
此外,護理資源嚴重欠缺。當前,我國約70%的痴呆患者在家中養老,以配偶或子女等家庭成員提供無償的非正式照護為主,養老機構、社區醫院提供的照護資源非常有限。截至2023年三季度,全國各類養老機構和設施總數達40萬個、牀位820.6萬張,而失能失智人數約為4500萬。

不只是一個醫學問題
多位專業人士表示,阿爾茨海默病的防治,不是單純的醫學問題,而是需要社會聯動的系統工程。
首先,王明德認為,提升基層篩查能力必不可少。他建議,二級及以上醫療機構及鄉鎮衞生院、社區衞生服務中心聯合設立記憶門診或認知門診,依託政府項目常態化開展早期篩查;推廣智能篩查工具與雙向轉診機制,促進多方協作提升診療水平;降低篩查成本,鼓勵研發便攜式檢測設備,如移動式MRI、CT等,推廣低成本血液檢測(如p-tau217檢測)替代影像檢查。
其次,還需要優化資源配置,構建防治服務網絡。“建立上級醫院與基層醫療機構的遠程協作機制,提升基層診療能力。”王明德表示,可以運用人工智能技術構建老年期痴呆智能防治平台,整合數據資源,實現早篩、干預、治療、康復全流程服務。同時加強基層醫療機構建設,提升設施水平與康復能力。

圖源:視覺中國 圖文無關
最後,燕江陵呼籲,擴大專業養老供給,減輕醫院和家屬照護負擔。在她所在的老年精神科病區,老人“壓牀”嚴重——“老年精神疾病的特點是難治癒、易反覆、不好護理,即使達到出院的標準,家屬也不願讓其出院。”因此,她建議引導具有能力的醫療機構、醫藥集團、社會企業共同參與,建立“醫院-醫養中心-家庭/社區”疾病全程管理模式。
“阿爾茨海默病影響的不是一位老人,而是整個家庭和社會。”燕江陵常常遇到患者家屬私下向她哭訴。“這個病不可逆,現在的每一天,都是你未來與TA度過的日子裏最好的一天,你應該珍惜當下,活在當下。”面對阿爾茨海默病患者家屬的痛苦、懊惱、愧疚、絕望,她這樣安慰道。