立華股份:業績下滑74%單季度虧損,現金難覆蓋短債,還要分紅超一半利潤?_風聞
财经九号-35分钟前

來源 | 財經九號院作者 | 胖虎
8月18日晚間,江蘇立華食品集團股份有限公司(股票代碼:300761,以下簡稱“立華股份”)發佈了2025年半年度報告。
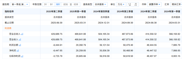
這份財報顯示,公司上半年實現營業收入83.53億元,同比增長7.02%,歸屬於上市公司股東的淨利潤1.49億元,同比下降74.10%。表面上的營收增長難掩盈利能力大幅下滑的現實,立華股份正面臨着諸多挑戰。
特別是第二季度業績再度出現虧損,而長期以來立華股份的在手現金都難以覆蓋短期債務,流動性緊張難以緩解,即便在這種情況下,立華股份2025年中期的擬現金分紅比例,遠比2024年的分紅比例要高。
這種業績下滑甚至虧損、公司流動性緊張卻要逆勢提高分紅比例的情況,難不成又是讓大股東吃肥肉?畢竟立華股份的控股股東占上市公司近半股權。
1
增收不增利單季度出現虧損,核心業務受挫嚴重
立華股份主要從事黃羽肉雞、商品肉豬的養殖和銷售業務,其中黃羽肉雞業務是其核心主業。上半年,公司實現雞收入63.35億元,同比下降6.76%;實現豬收入19.47億元,同比增長117.65%。
從銷售數據來看,上半年公司銷售肉雞(含毛雞、屠宰品及熟製品)2.60 億隻,同比增長10.37%,銷售肉豬94.96萬頭,同比增長118.35%。在銷售增長的情況下,肉雞業務收入卻出現下滑,這主要是因為價格因素。

上半年黃羽肉雞市場行情總體低迷,公司商品雞銷售均價同比下降 18.40%,導致雞板塊呈現階段性虧損。雖然公司肉雞完全成本降至11元/公斤以內,但價格的大幅下跌使得毛利率僅為6.21%,同比下降7.65個百分點。肉豬業務方面,儘管營收大幅增長,毛利率達到22.46%,同比上升6.91個百分點,但考慮到公司整體業績的下滑,肉豬業務的增長似乎未能完全彌補肉雞業務的虧損。

分季度來看,公司業績的惡化趨勢更加明顯。第一季度,立華股份實現歸母淨利潤2.06億元,而到了第二季度,歸母淨利潤變為虧損5726萬元,環比盈轉虧。且第二季度公司毛利率為7.95%,同比下降10.67個百分點,淨利率為-1.51%,較上年同期下降13.44個百分點。這表明在第二季度,市場環境對立華股份的衝擊加劇,公司盈利能力急劇下降。
2
4.6億現金難以應對24億短債,流動性風險不容忽視
除了業績下滑,立華股份的債務問題也不容忽視。截至2025年6月30日,公司負債合計63.1億元,資產總計153.62億元,資產負債率達到41.08%,較2024年底的37.8%進一步攀升。
從債務結構來看,流動負債佔比較高,流動負債55.65億元,佔負債總額的88.2%。其中,一年內到期的短期債務達24.1億元(短期借款+一年內到期非流動負債)。

而立華股份的短期償債能力卻很弱,截止到今年6月底,立華股份的貨幣資金情況雖有改善,較上年末增加了151.59%達到4.61億元,但相比24億多的短期債務壓力依然很大,公司現金及現金等價物遠遠難以覆蓋短期債務,且這種情況在立華股份長期的財報中均存在。
與此同時,立華股份的經營活動產生的現金流量淨額僅為5.59億元,同比又下降17.47%,這意味着公司通過經營活動獲取現金的能力在減弱。如果短期債務集中到期,公司可能面臨資金週轉困難,流動性風險增加。
此外,從資產負債表的其他項目來看,至今年6月底,立華股份的存貨較上年末增加 13.56%,存貨的增加可能是由於銷售不暢導致庫存積壓,這不僅佔用了公司資金,還可能面臨存貨跌價風險,進一步影響公司資產質量。
3
飼料漲價致成本上升業績承壓,逆勢提高分紅比例為哪般?
雖然立華股份在半年報中表示,下半年黃羽肉雞的傳統消費量高於上半年,疊加節假日、旅遊消費需求的回升,公司養雞業務經營情況有望迎來好轉。但市場的不確定性依然存在。
黃羽肉雞價格受多種因素影響,包括市場供需關係、飼料價格波動、疫情等,而豬肉價格已經出現下行。如果下半年市場行情未能如預期改善,公司業績可能繼續承壓。
更何況由於豆粕、菜粕等飼料原材料漲價,近期新希望、海大等國內的多家飼料企業宣佈漲價。而在成本控制方面,雖然上半年立華股份的肉雞完全成本降至11元/公斤以內,肉豬完全成本降至12.8元/公斤,但隨着飼料價格上漲,公司成本優勢將被削弱,盈利空間將進一步壓縮。
此外,更值得注意的是,除了業績預期並不樂觀之外,立華股份的現金分紅比例(含擬分紅)卻出現了逆勢走高的反常現象。
數據顯示,立華股份2024年全年累計現金分紅總額達到6.62億元。從分紅比例來看,這一金額佔 2024 年度歸屬於上市公司股東淨利潤15.21億元的43.53%。

但到了2025年半年度,提出擬每10股派發現金紅利1元(含税)、合計派發現金紅利 8373萬元的分紅方案來,按此方案派現額占上半年淨利潤比例為 56.27%。而這樣的方案居然是在立華股份二季度業績虧損、未來業績承壓,以及在手現金難以覆蓋短期債務、流動性緊張的情況下提出的。
這就明顯給大股東派發分紅大禮包了,畢竟大股東持股接近50%,顯然要切走分紅蛋糕的最大一塊。只不過,將公司賬上的現金分走一大塊後,對公司的償債能力、現金流風險、持續經營會帶來怎樣的負面影響啊!
(免責聲明:本文數據信息均來自上市公司財報年報的公開數據,以及東方財富網、企業預警通等公開信息,數據或信息如有遺漏,歡迎更正,並以公司最終披露為準。未經授權,本文禁止轉載、抄襲或洗稿。)
—END—