大連一高校被曝全員停發工資,學校被執行總金額超35億元,高校為啥能欠這麼多錢?_風聞
橙哥迷妹-1小时前
8月24日,大連科技學院發佈情況説明:近日,有關我校教職工薪酬發放情況等網絡信息引發社會關注。學校高度重視,加快推進相關問題解決。
現就有關情況説明如下:**關於網傳學校工資停發問題,確因我校涉及一起多年前貸款擔保糾紛,以致教職工7月份薪酬延期發放。**網傳大量債務信息實為舉辦方名下其他企業債務。經學校依法與司法機關及相關金融單位溝通協調,**目前工資發放問題已全部解決,學校長期運行經費得到有效保障。**學校秋季開學各項準備工作正在有序進行,將按照教學計劃如期開學。 衷心感謝社會各界對學校的關注與支持。

近日,有網友發帖稱“大連科技學院全員停發工資,開學面臨停擺”,引發關注。在帖文評論區,記者注意到有一封落款為“大連科技學院工會委員會”的《致全體教職員工一封信》。信中提到,在未收到任何法律文書和通知的情況下,學校各類相關賬户被大連市中級人民法院凍結,致使7月工資未能如期發放。學校工會將為全體教職員工發放臨時困難補貼和慰問補貼。

網友發帖稱大連科技學院全員停發工資

評論區流傳出該校內部信
8月23日,記者以家長身份致電大連科技學院求證此事,學校院辦工作人員證實網傳的《致全體教職員工一封信》內容屬實,但表示“現在學校已經在解決這個問題了,政府不可能讓學校停止運行,我們老師馬上都上班了”。同日,記者致電該校主管部門遼寧省教育廳,電話無人接聽。
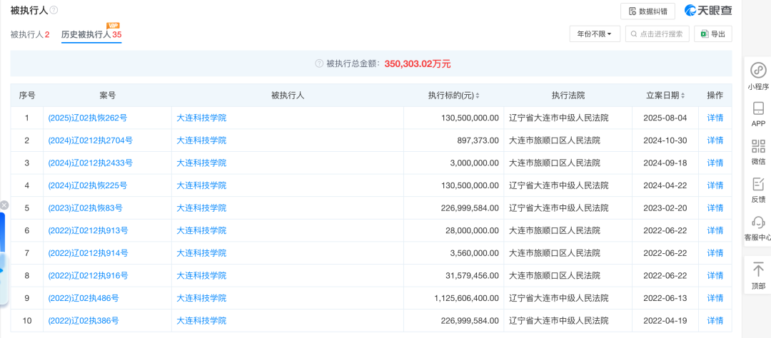
記者注意到,《致全體教職員工一封信》的落款時間為8月5日。根據天眼查信息顯示,大連科技學院共有2條被執行人信息,被執行總金額超2.3億元;共有35條歷史被執行人信息,被執行總金額超35億元。其中,8月4日新增1則恢復執行信息,執行標的超1.3億元,執行法院為遼寧省大連市中級人民法院。

大連科技學院2條被執行人信息,總金額超2.3億元。

大連科技學院歷史被執行人信息共35條,總金額超35億元。
公開資料顯示,大連科技學院位於遼寧省大連市旅順經濟開發區,是一所理工類民辦高校。學院於2002年7月建校,前身為大連交通大學信息工程學院,是大連鐵道學院與大連陽光世紀教育產業投資有限公司(下稱“大連陽光世紀教育”)共同舉辦的獨立學院。2011年,學校改製為民辦普通本科大連科技學院。
“我收到的錄取通知裏要求10天內交齊學費。”一位該校新生告訴記者,自己8月初就已交齊所有學費。大連科技學院的收費公告顯示,該校本科專業學費為每年26000元-28000元,專科學費為每年18000元。8月17日,大連科技學院官方微信公眾號發佈2025年招生情況,已面向全國22個省份錄取本科新生2900餘人。學校目前在校生大約1.2萬人。
一所高校,為什麼能欠這麼多錢?
記者梳理發現,大連科技學院背後的企業,大連陽光世紀教育同樣官司纏身,而學校副董事長、常務副校長高小涵,是大連科技學院的法定代表人,同時也是大連陽光世紀教育法定代表人。目前,高小涵共有22條被限制高消費的記錄,案件多集中在金融借款合同糾紛、債權轉讓糾紛、典當糾紛等。
一位大三在校生告訴記者,關於學校全員停薪的事,自己也是從網上看到,內部並未引起過多討論,但是學校近期新裝修了宿舍樓,並在招生季多次宣傳寢室環境。
此前,該校還曾發佈2025年招聘計劃,招聘專任教師、專業帶頭人、輔導員等42人。