馬化騰、雷軍加持的丁香園,要赴港上市了?_風聞
趣解商业-趣解商业官方账号-关注新科技、新消费,聚焦新模式、新商业 9-02 17:21
作者 | 郝文
編輯 | 趣解商業資訊組
近日,據“IPO早知道”報道,數字醫療健康科技企業丁香園正籌備赴港上市,最快今年正式向港交所遞交招股説明書。

圖片來源:微博截圖
最早可追溯至2000年的丁香園從BBS論壇起步,彼時的定位是一個為醫生提供學術交流的平台;2007年前後,丁香園開始商業化運營,曾陸續嘗試過招聘、To B電商、營銷解決方案等業務模式。 截至目前,丁香園已服務上億大眾用户,並擁有超900萬專業用户,佔全國衞生技術人員的80%,其中包含超405萬醫生用户,覆蓋全國超過90%的醫生。 當然,除了為醫生提供學術交流和臨牀支持外,丁香園在C端更大的知名度還是在於通過微信、抖音、視頻號等大眾平台,將專業的醫學知識傳遞給公眾。
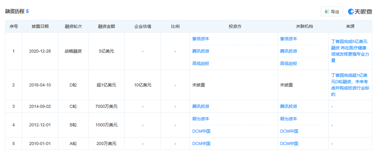
“天眼查”APP顯示,成立至今,丁香園母公司觀瀾網絡(杭州)有限公司共獲得了五輪融資。
2010年丁香園完成A輪融資,由DCM中國投資200萬美元,併入駐杭州高新區(濱江)獲得杭州市政府設立的創投引導基金投資;2年後丁香園再次獲得B輪融資,公司增資至1500萬美元,B輪融資由雷軍旗下的順為資本領投,DCM跟投。
2014年9月,騰訊投資斥資7000萬美元幫助丁香園完成C輪融資;2018年,丁香園宣佈完成D輪融資,本輪融資金額在1億美元以上,投資方未透露。融資完成後,丁香園估值達到10億美元,正式躋身獨角獸公司之列。
2020年,丁香園宣佈完成5億美元(約合人民幣32.67億元)融資,本次融資由摯信領投,騰訊、高瓴創投兩家機構跟投。

圖片來源:天眼查
由於丁香園已經完成多輪融資,“丁香園是否打算上市”也受到市場人士的關注,2020年,其創始人、董事長李天天曾表示,“丁香園自我造血能力較強,BU業績增長和盈利能力穩健,對資本的需求並非特別強烈,而且前幾輪投資都是大的投資機構,投資人對醫療保持敬畏之心,持續看好醫療領域,非常信賴丁香園。所以,上市是過程而非結果。”
目前,港股成交火熱,藥企也正加速“跑步”進入港股市場。據“中國證券報”統計,今年以來15家生物醫藥及醫療健康行業相關企業已經在港交所成功上市,目前還有36家生物醫藥及醫療健康行業相關企業向港交所遞交了招股書。
港股藥企上市熱潮為丁香園營造了一個“天時地利”的大環境。它不僅能借此東風獲得更高的關注度和更合理的估值,更能與產業鏈上下游的上市公司深化合作,為其核心業務帶來增長動力。

圖片來源:罐頭圖庫
但這也意味着丁香園並非資本關注的唯一標的,它需要在眾多尋求資本支持的同類企業中脱穎而出,向市場證明其獨特的核心競爭力和更大的增長潛力。
而從丁香園本身來看,互聯網醫療行業一直面臨着商業模式探索困難的問題,如何持續保持盈利增長,並且讓投資者認可其商業模式,仍是一個挑戰。
再加上,隨着數據安全和隱私保護法規的逐步完善,企業在信息管理上需要投入更多資源,以有效保護客户數據。丁香園作為擁有大量用户醫療健康數據的平台,數據安全管理的壓力較大。
此外,醫療健康領域競爭愈發激烈,丁香園面臨着來自京東健康、阿里健康等強大競爭對手的壓力。這些競爭對手在市場份額、用户基礎、資金實力等方面都具有一定優勢。這意味着,丁香園需要在服務質量、技術創新和患者體驗等方面突出自身特色,才能應對激烈的市場競爭。
截至發稿,丁香園未就網傳赴港上市的消息進行回應。作為國內數字醫療健康科技領域的頭部玩家,丁香園若啓動上市進程,無疑將為行業注入新的活力,也為自身發展打開更大空間,但其面臨的挑戰也不容忽視。正如李天天所説的,“上市是過程而非結果”,如何藉此東風,在商業價值與社會價值之間找到更優解,將是其上市後需要持續書寫的核心命題。