哪吒汽車再被執行,知情人士:有新融資到位
周盛明
(文/周盛明 編輯/高莘)
根據天眼查信息顯示,哪吒汽車母公司合眾新能源汽車股份有限公司(以下簡稱“合眾汽車”)於1月15日被桐鄉市人民法院強制執行,執行標的約545.52萬元。
在此前的2024年12月5日,合眾汽車已被桐鄉市人民法院列為被執行人,執行標的約911.05萬元。
從2024年12月5日到2025年1月15日,合眾汽車兩次被強制執行的金額合計為1456.5725萬元。

天眼查
值得注意的是,在2025年年初,該公司及其法定代表人方運舟因與東風延鋒汽車座艙系統有限公司的買賣合同糾紛,被限制高消費。

天眼查
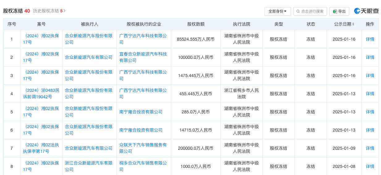
根據天眼查的信息,2024年11月13日至2025年1月20日,合眾汽車共有40條股權凍結記錄,股權數額合計約為41.54億元。

天眼查
對於本次被法院強制執行的事件,有知情人士向觀察者網表示:“這個是一起債務訴訟。最近合眾汽車有新的融資到位,將會在近期對外公佈。”
值得注意的是。2025年初曾有消息稱哪吒汽車獲得了約60億元的融資,並且本輪融資有寧德時代和國資委參與。但隨後哪吒汽車對此回應稱“消息不實”。
2024年12月6日哪吒汽車官方宣佈公司創始人、董事長方運舟兼任首席執行官(CEO),張勇不再擔任CEO,轉任公司顧問一職。
同時,方運舟當時代表哪吒汽車發佈全員信,承認公司發展遭遇“短期震盪”,將實行優化重組、聚焦海外等一系列改革措施,計劃在全力實現IPO的同時,2025年內實現整體毛利率轉正,2026年實現整體盈利。
本文系觀察者網獨家稿件,未經授權,不得轉載。