上市國企原董事長獲刑17年,任職4年半虧了51億元
guancha
據京法網事,2025年3月20日,北京市第二中級人民法院依法公開宣判北京市文化投資發展集團有限責任公司原黨委書記、董事長周茂非貪污、受賄案,對被告人周茂非以貪污罪判處有期徒刑十二年六個月,並處罰金人民幣一百萬元;以受賄罪判處有期徒刑十四年六個月,並處罰金人民幣二百萬元,合併執行有期徒刑十七年,並處罰金人民幣三百萬元。追繳其貪污違法所得,發還被害單位;追繳其受賄違法所得及孳息予以沒收,上繳國庫。
公開信息顯示,北京市文化投資發展集團有限責任公司(簡稱“北京文投集團”)成立於2012年12月,是由北京市政府授權北京市國有文化資產管理中心成立的國有獨資公司,註冊資本60億元,為市屬一級企業。
而*ST文投(600715)則是文投集團下屬上市公司,曾綁定成龍、吳亦凡。此外,馮小剛、張國立、李冰冰、黃曉明也曾間接持股該公司。周茂非曾擔任文投控股董事長。
周茂非違規出入私人會所
非法收受他人鉅額財物
據北京市文資辦官網、北京石景山區政府官網顯示,周茂非,男,漢族,1963年4月出生,黑龍江寶清縣人,1985年1月加入中國共產黨,1986年8月參加工作,在職研究生文化程度(中國礦業大學管理科學與工程專業),工學碩士、管理學博士,高級工程師。

圖為周茂非資料圖,他於2022年被查
曾任北京市國有文化資產管理辦公室黨組書記,北京市石景山區委副書記、區長,北京市政府僑務辦公室副主任、黨組成員,北京儀器儀表工業控股(集團)有限責任公司副總經理。
2022年7月,周茂非因涉嫌嚴重違紀違法接受紀律審查和監察調查。
2022年7月18日,文投控股公告,董事會收到公司董事長周茂非提交的《辭職報告》。周茂非因個人原因,申請辭去公司董事長、董事及董事會專門委員會相關職務。
2013年4月5日,北京市紀委監委消息:日前,經北京市委批准,北京市紀委監委決定給予北京市文化投資發展集團有限責任公司原黨委書記、董事長周茂非(正局級)開除黨籍、開除公職處分。

圖為官方通報截圖
經查,周茂非不落實黨和國家的方針政策以及決策部署,不履行全面從嚴治黨主體責任,對抗組織審查,參加迷信活動;收受可能影響公正執行公務的禮品、禮金和公務旅遊活動安排,違規出入私人會所;不如實申報個人有關事項;干預和插手國有企業重大項目投資。利用職務上的便利,非法佔有公共財物,非法收受他人鉅額財物。
周茂非嚴重違反黨的紀律,構成嚴重職務違法並涉嫌貪污、受賄犯罪,且在黨的十八大後不收斂、不收手,黨的十九大後仍不知敬畏、不知止,應予嚴肅處理。依據相關規定,經市紀委常委會會議研究並報市委批准,決定給予周茂非開除黨籍、開除公職處分;收繳其違紀違法所得;將其涉嫌犯罪問題移送檢察機關依法審查起訴。
值得注意的是,曾任北京文投集團總經理,文投控股董事長的趙磊於2022年3月被查,2013年4月5日被通報“雙開”。
任職4年半虧了51億元
北京文投集團旗下產業眾多,其中包括文投控股股份有限公司。
2015年,文投控股股份公司借殼瀕臨退市的松遼汽車上市,文資控股((北京文投集團參股公司))成為控股股東,耀萊文化成為第二大股東,君聯嘉睿成為第三大股東。

圖為文投控股股份公司的股東情況
2015年9月,趙磊作為“北京市文化投資發展集團有限責任公司副書記、副董事長、CEO”,被提名為*ST松遼的董事,同年10月出任該公司董事長。
而耀萊文化實控人為綦建虹,綦建虹與成龍有着廣為人知的資源鏈接關係,文投控股藉此綁定了成龍。綦建虹還曾擔任過文投控股總經理,2018年離職。
2015年8月,文投控股以14.28億元和23.20億元的價格完成對耀萊文化子公司江蘇耀萊影城管理有限公司100%股權的收購。這樣一來,文投控股就成為了耀萊影城的控股股東。據公告顯示,耀萊影城獲得成龍授權,有權在各“耀萊成龍國際影城”、“耀萊國際影城”等影城運營項目中,商業使用成龍的姓名、肖像和品牌形象。
此後,由成龍主演的影片出現在文投控股的年報當中。根據年報顯示,文投控股投資的《功夫瑜伽》《英倫對決》《天將雄獅》《絕地逃亡》《鐵道飛虎》等5部影片總票房共有46.1億。不僅如此,雙方共同打造的耀萊成龍國際影城在業界迅速崛起,多次成為全國影院票房冠軍。
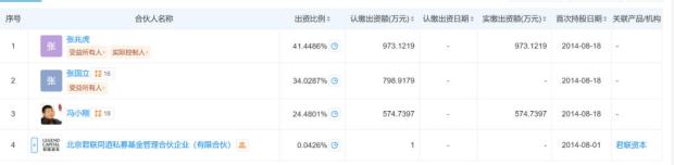
而另一個股東君聯嘉睿當時則有着馮小剛、李冰冰、張國立、黃曉明等明星股東。

君聯嘉睿曾有馮小剛、李冰冰、張國立、黃曉明等明星股東
值得注意的是,文投控股最新披露的前十大的股東中已經沒有了耀萊文化、君聯嘉睿,另外李冰冰、黃曉明也已退出君聯嘉睿。

上述股東(李冰冰、黃曉明等)均已退出
2016年6月,文投控股的孫公司耀萊影視與吳亦凡所屬公司的香港星睿文化達成委託協議,吳亦凡在中國大陸範圍內的廣告、電影等演藝事務,將由耀萊影視全權代理和全面負責,並肩負維護此間衍生的各項演藝人員合法權益的責任。多重利好下,當年9月,文投控股股價攀至巔峯26.62元。
公告顯示, 2015年至2017年,耀萊藝人經紀業務與成龍、吳亦凡等藝人展開深度合作。2015年、2016年、2017年經紀業務收入分別為7079.97萬元、7141.51萬元、7494.71萬元。此後,由於耀萊與成龍、吳亦凡等藝人經紀業務未有新增業務,藝人經紀收入出現了較大幅度下滑。但吳亦凡的紅火,確實成為了文投控股的炒作題材。在2017年12月,文投控股在一場重組説明會上,特別強調吳亦凡是文投控股旗下籤約藝人。
2017年10月,文投控股公告稱,董事長趙磊因個人工作變動,辭任董事長等相關職務。同時,董事會提名周茂非為董事候選人,並提交股東大會選舉。2018年1月,周茂非正式出任文投控股董事長。

圖為“文投之夜”相關視頻報道截圖
據中國電影報,在2019年11月的金雞百花電影節期間,文投控股舉辦了“文投之夜”。周茂非闡述了文投控股的發展歷程及在各產業鏈的佈局,並表示文投控股肩負着助力北京文化產業升級的重要職責,對引導行業健康、理性發展,打造優秀的影視產業鏈有着義不容辭的責任,並希望與影視從業者共同推進中國文化產業良性發展。
不過,在2018年1月到2022年7月周茂非擔任董事長期間,文投控股淨利潤連續虧損,4年半時間累計虧損額高達51億元,其中2020年就虧損了35.1億元。
另外,文投控股多次已多次發佈風險提示,公司股票可能被終止上市。
文投控股表示,公司2023年度經審計的期末歸屬於上市公司股東的淨資產為負值,近三年連續虧損且會計師事務所對公司2023年度財務報告出具了包含與持續經營相關的重大不確定性段的無保留意見審計報告。2024年4月29日,文投控股被實施退市風險警示(即*ST)。
文投控股稱,若公司2024年度仍然存在《上海證券交易所股票上市規則》第9.3.7條規定的不符合申請撤銷股票交易退市風險警示的情形,或者未在規定期限內申請撤銷退市風險警示的,公司股票將面臨被終止上市的風險。
值得注意的是,2024年10月21日,公司收到北京一中院送達的《民事裁定書》及《決定書》,法院裁定受理公司債權人對公司的重整申請,11月25日,經公司申請,北京一中院作出《民事裁定書》,裁定批准《文投控股股份有限公司重整計劃》,並終止公司重整程序。
目前文投控股每股報2.14元,總市值為86.88億元。