張學友東莞演唱會“撞車”高考遭投訴,多方回應
guancha
本月初,貓眼APP宣佈,張學友60+巡迴演唱會東莞站(下稱張學友東莞演唱會)確定於6月6日至6月8日,在廣東東莞銀行籃球中心連開三場。因為演唱會有兩天時間正好與2025年高考時間“重合”,附近又是東莞市第六高級中學考點,因此遭到當地一些市民的投訴,希望演唱會進行延期。5月22日,東莞市多個部門針對此事進行了回應。
近日,張學友東莞演唱會公佈時間後,不斷有網友在網上發帖質疑張學友東莞演唱會和高考時間“重合”是否合適,會不會對附近考點產生影響。當地媒體曾在官方微信兩次發佈了張學友東莞演唱會的推送文章,在文章評論區,記者看到,有一些網友對張學友東莞演唱會選擇在了高考時間舉辦表示了質疑,認為會影響到考生以及附近考點的交通,有些不妥。也有一些網友認為高考考試是在白天,演唱會是晚上舉辦,不會對高考產生影響。

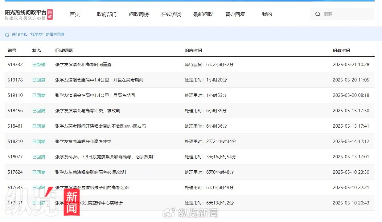
當地的“陽光熱線問政平台”多位網友進行投訴反映。 網站截圖
在東莞市有關部門主辦的“陽光熱線問政平台”,記者發現,已有十多名網友進行反映,希望張學友演唱會能夠改期。一名網友在反映帖子中稱,張學友演唱會於6月6日、7日、8日連續三天在東莞籃球中心舉行。這三天正是高考的日子,演唱會場館和高考考點東莞市第六高級中學距離只有2公里。即使政府承諾做好了萬全的措施和預案,作為高考的家長,我們仍有諸多顧慮,哪怕只有萬分之一的可能對高考產生影響。這名網友在帖子中質疑,高考時間早已固定,全年檔期充裕,演唱會為什麼一定要選擇在高考時間舉辦。
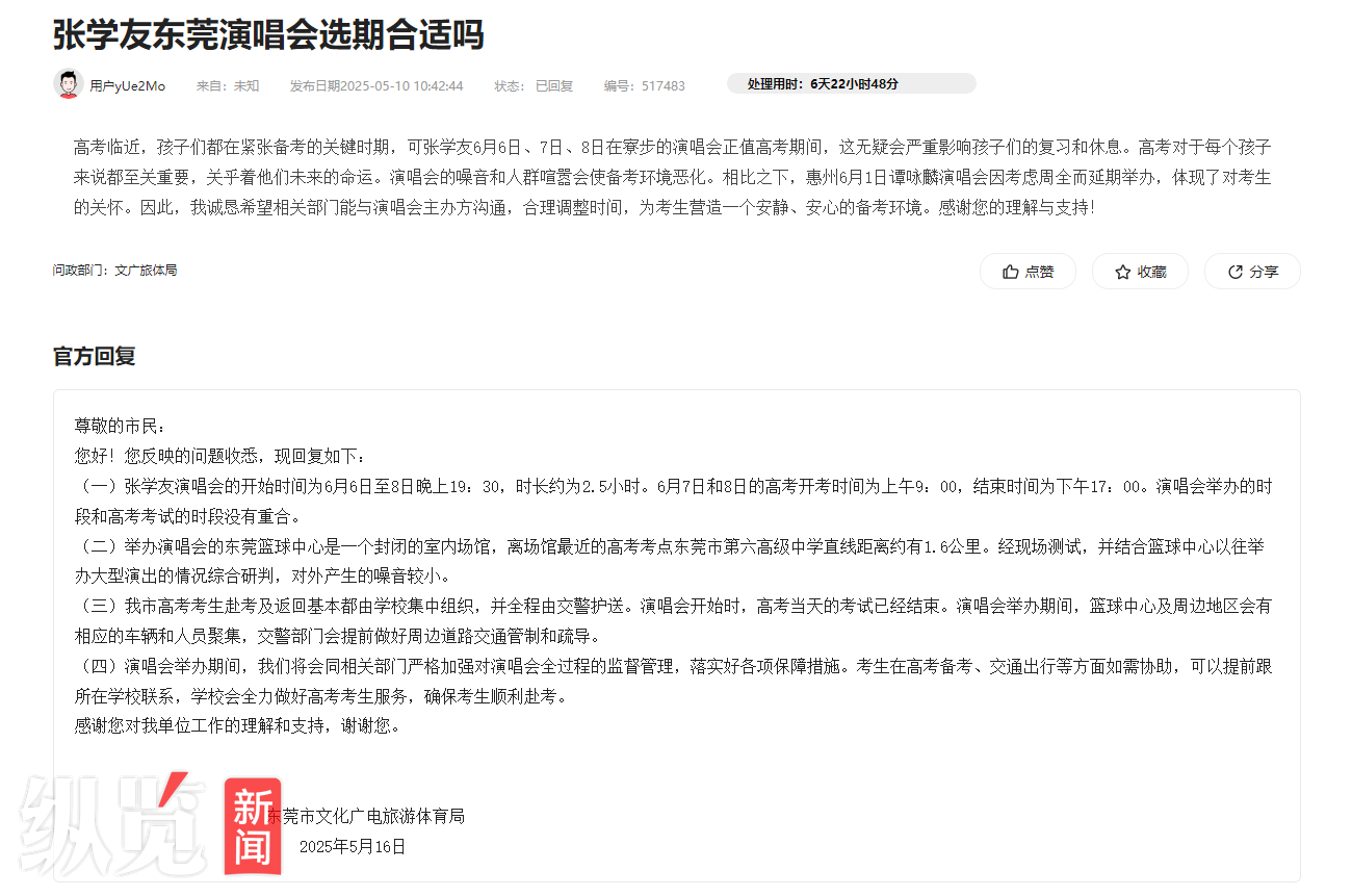
針對上述反映帖子,東莞市文化廣電旅遊體育局均進行了回覆。回覆稱,(一)張學友演唱會的開始時間為6月6日至8日晚上19:30,時長約為2.5小時。6月7日和8日的高考開考時間為上午9:00,結束時間為下午17:00。演唱會舉辦的時段和高考考試的時段沒有重合。(二)舉辦演唱會的東莞籃球中心是一個封閉的室內場館,離場館最近的高考考點東莞市第六高級中學直線距離約有1.6公里。經現場測試,並結合籃球中心以往舉辦大型演出的情況綜合研判,對外產生的噪音較小。(三)我市高考考生赴考及返回基本都由學校集中組織,並全程由交警護送。演唱會開始時,高考當天的考試已經結束。演唱會舉辦期間,籃球中心及周邊地區會有相應的車輛和人員聚集,交警部門會提前做好周邊道路交通管制和疏導。(四)演唱會舉辦期間,我們將會同相關部門嚴格加強對演唱會全過程的監督管理,落實好各項保障措施。考生在高考備考、交通出行等方面如需協助,可以提前跟所在學校聯繫,學校會全力做好高考考生服務,確保考生順利赴考。

東莞市文化廣電旅遊體育局的回覆。 網站截圖
縱覽新聞記者登錄貓眼APP上張學友60+巡迴演唱會東莞站(下稱張學友東莞演唱會)售票頁面看到,張學友東莞演唱會演出時間為6月6日、6月7日、6月8日的晚上7點半開始,時長約120分鐘。
5月22日下午,縱覽新聞記者多次撥打東莞市文化廣電旅遊體育局辦公室的電話一直無人接聽。東莞市招生辦公室的工作人員表示,之前已接到很多家長反映,希望演唱會能夠推遲。市裏對此很重視,召集相關部門已開過多次專門會議,也做了一些相對應的保障措施,確保不對考生產生影響。該名工作人員還稱,家長主要擔心是會影響到附近東莞六中考點,但經過現場測試,演唱會地點和考點直線距離約有1.6公里,現場噪音也很小,不會影響到該考點。
記者以家長身份聯繫了東莞市政府辦,該辦人員建議記者聯繫東莞市文化廣電旅遊體育局、東莞市教育局或撥打東莞市12345政務服務便民熱線進行反映。


在網上,有網友認為應該改期也有網友認為不會有影響。 網絡
東莞市12345政務服務便民熱線工作人員表示,已接到多名市民反映張學友東莞演唱會時間的問題,經有關部門核實,演唱會的時間是在晚上7點半開始,持續2.5個小時;7日、8日的高考考試開始時間是上午9點,結束時間是下午5點,時間段上沒有重合,對考生沒有影響。演唱會位於東莞銀行籃球中心,周邊無居住小區,距離最近的考點東莞市第六高級中學,直線距離約1.6公里。演唱會是在室內舉行,結合場館以往的情況進行分析,並進行現場測量,演唱會產生出的最大音量不會對該中學考生的備考產生影響。
上述工作人員稱,演唱會開始時間是晚上19點30分,觀眾聚集時間一般是下午17點,這個時間點是高考考試結束的時間,考生返程會由交警帶隊乘車離開考點,同時,交警部門和多個部門也會在周邊對交通進行疏通。目前,他們暫時沒有接到演唱會延期的消息。
(縱覽新聞記者 任利)