張若昀父親被恢復執行3.5億,此前曾被強執2000萬
guancha
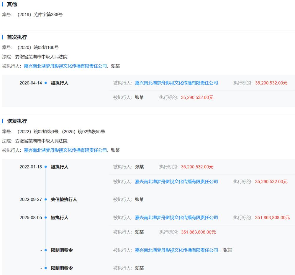
據天眼查消息,8月5日,張若昀父親張健及嘉興南北湖夢舟影視文化傳播有限責任公司新增一則恢復執行信息,執行標的3.51億餘元,執行法院為安徽省蕪湖市中級人民法院。

天眼查截圖
天眼查信息顯示,嘉興南北湖夢舟影視文化傳播有限責任公司成立於2013年9月,張健擔任法定代表人、執行董事、經理,張健通過上海大昀影視有限公司間接持有該公司90%股權。
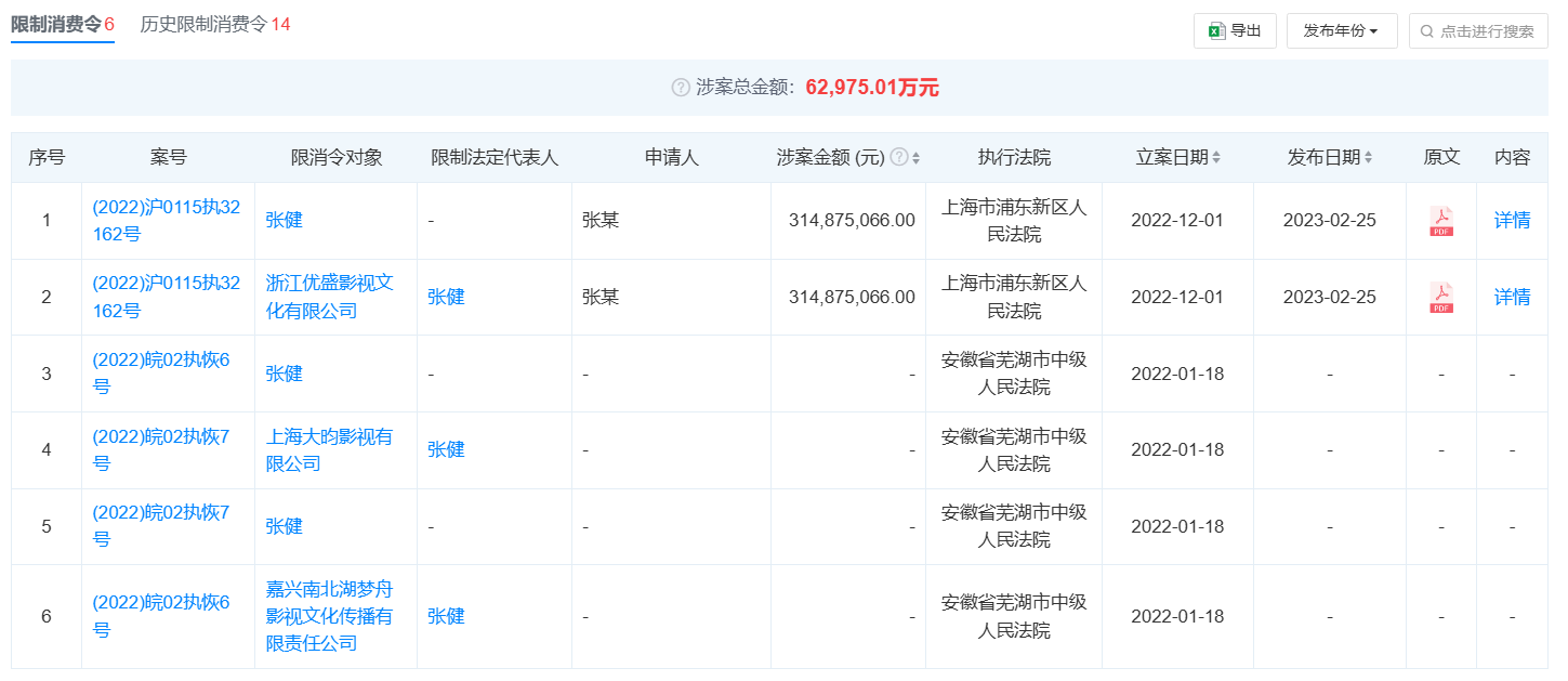
目前,張健及該公司涉一起合同糾紛已被限制高消費。此外,張建還因多項被執行令而被限制高消費,涉案總金額6.29億餘元。


天眼查截圖
去年5月28日,“張若昀父親被強執2000萬”的話題曾衝上熱搜第一。
天眼查App顯示,2024年5月20日,浙江南北湖夢都影業有限公司、北京夢都錦繡文化傳媒有限公司、張健(演員張若昀父親)、馮越新增一則被執行人信息,執行標的2000萬元,執行法院為北京市朝陽區人民法院。
歷史股東信息顯示,張若昀父親張健曾為浙江南北湖夢都影業有限公司股東,2015年其所持股份轉給張若昀,2017年張若昀退出股東行列。此後,張若昀還曾因確認合同無效糾紛起訴該公司。
據魯中晨報此前報道,2020年,張若昀涉入1.4億元違約糾紛引發網友討論。起因是,2016年12月,華策影視與夢都影業及其核心藝人簽署了《合作協議》,約定了四部影視劇項目並支付了相應款項,但華策在提供了多個影視劇項目後,均被拒絕。直到2017年,夢都影業仍有部分款項未返還。2019年,華策方要求夢都影業等返還1.44億元酬金以及違約金。
而張若昀就是此糾紛中的相關責任人員。當時,張若昀直接發微博稱:“沒簽過約,未曾收錢。”而父親張健則稱,《合作協議》中關於張若昀的演出費用等事宜,是張若昀通過微信授權他及夢都公司去洽談、確定和簽署的。
一時之間,父子雙方在1.44億元的違約金疑雲中陷入了羅生門。2021年,張若昀正式起訴父親張健及夢都影業,但不久後又向法院提起了撤訴申請。


天眼查截圖
公開信息顯示,張若昀,1988年8月24日出生於北京市,中國內地男演員,畢業於北京電影學院。曾參演《雪豹堅強歲月》《無心法師》《九州·天空城》《法醫秦明》《慶餘年》《雪中悍刀行》《警察榮譽》等劇。其中在《慶餘年》中出演第一男主角範閒 ,並憑藉劇中表現獲得第26屆上海電視節白玉蘭獎最佳男主角提名。
張健,1961年6月19日出生於中國北京市,畢業於浙江大學,中國內地投資人、出品人、策劃人、製片人、發行人、編劇、導演;西安夢舟影視文化傳播有限責任公司總經理,張若昀的父親。2014年,執導出品電視劇《雪豹之堅強歲月》,並憑該劇獲得第11屆電視製片業“電視劇優秀作品”獎。
本文系觀察者網獨家稿件,未經授權,不得轉載。