羅馬仕所持40萬股權被凍結
方周“实习中”

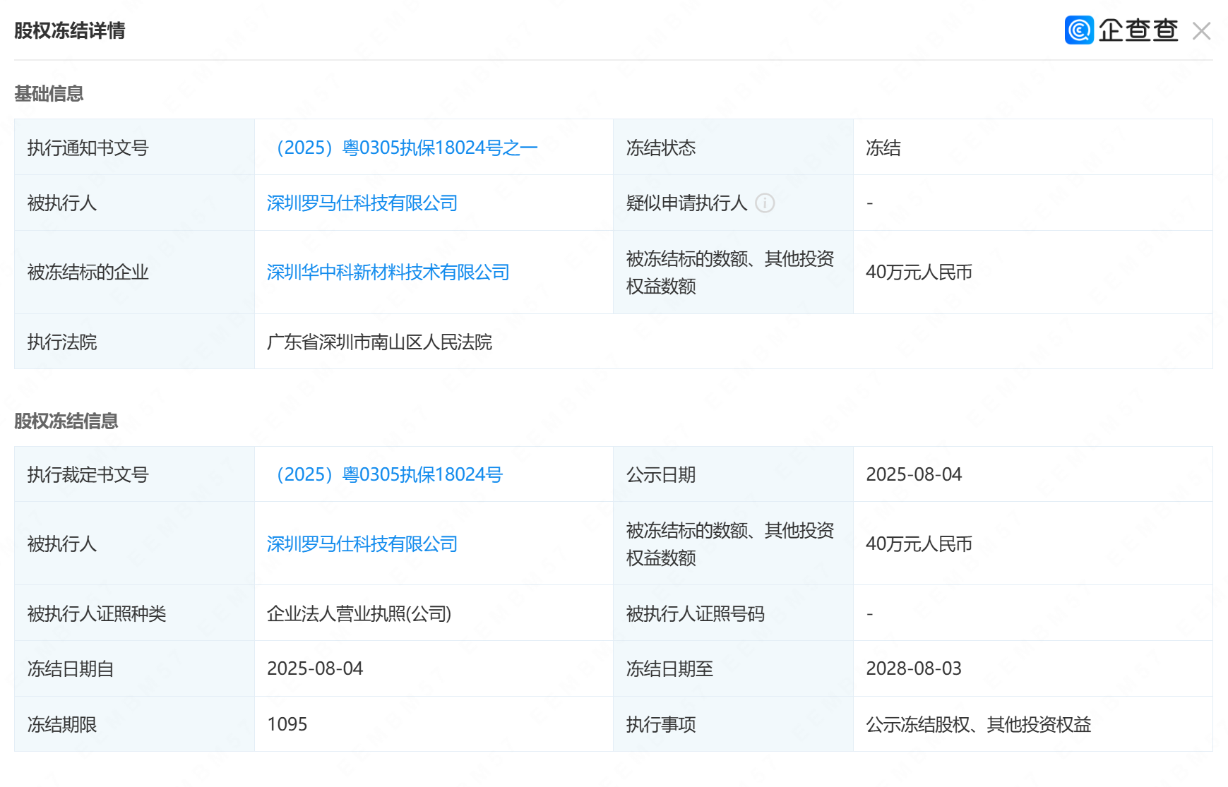
據企查查消息,近日,深圳羅馬仕科技有限公司新增一起股權凍結信息:該公司持有的深圳華中科新材料技術有限公司的股權已被凍結,數額為40萬人民幣,凍結期限為3年,執行法院為深圳市南山區人民法院。

企查查顯示,深圳華中科新材料技術有限公司成立於2019年3月,法定代表人為雷子榮,註冊資本約606萬人民幣,經營範圍包括電子產品的研發及銷售、國內貿易、物流信息諮詢等。股東信息顯示,該公司由深圳羅馬仕科技有限公司、雷子榮共同持股。
值得注意的是,自今年4月以來,該公司已兩次更改法定代表人。相關信息顯示,25年4月29日,原本擔任該企業法人、執行董事、總經理的黃雅婷退出,由雷社杏接替法人。2025年7月3日,雷社杏宣佈退出,法定代表人變更為雷子榮。而雷社杏目前為深圳羅馬仕科技有限公司、深圳羅馬仕科技有限公司江門分公司等8家關聯企業的法人。
近期,羅馬仕公司因充電寶召回事件而成為輿論焦點,陷入了一系列爭議之中。 今年6月,羅馬仕宣佈召回超過49萬台移動電源,相關產品3C認證被暫停。7月6日公司發佈通知宣佈自7月7日起停工6個月,僅保留召回相關員工,其餘人員按深圳最低工資標準的80%(約2016元/月)發放生活費。
不僅如此,公司管理層動盪進一步引發猜疑,三個月內兩次更換法人代表,高層被傳“出走境外”,釘釘羣信息清空,員工直呼“被矇在鼓裏”。財中社指出,羅馬仕辦公地已“人去樓空”,公司僅剩20餘人留守,破產程序已啓動,若9月底前無法恢復3C認證,品牌或走向註銷。
本文系觀察者網獨家稿件,未經授權,不得轉載。