主動曝光內部矛盾,匯源果汁深陷“資本局中局”
霍东阳

(文/霍東陽 編輯/張廣凱)
國民果汁匯源的內部矛盾正在公開化。
8月9日,北京匯源在其官方公眾號發佈《致全體股東及轉股債權人的公開信》稱,股東諸暨文盛匯自有資金投資有限公司(下稱“諸暨文盛匯”)提議於8月11日召開2025年第三次臨時股東會。在公開信中,同步公開的還有北京匯源的內部矛盾。

承諾注資卻成為“空頭支票”
北京匯源稱諸暨文盛匯的“不當操作”包括出資不實、濫用控制權等方面。
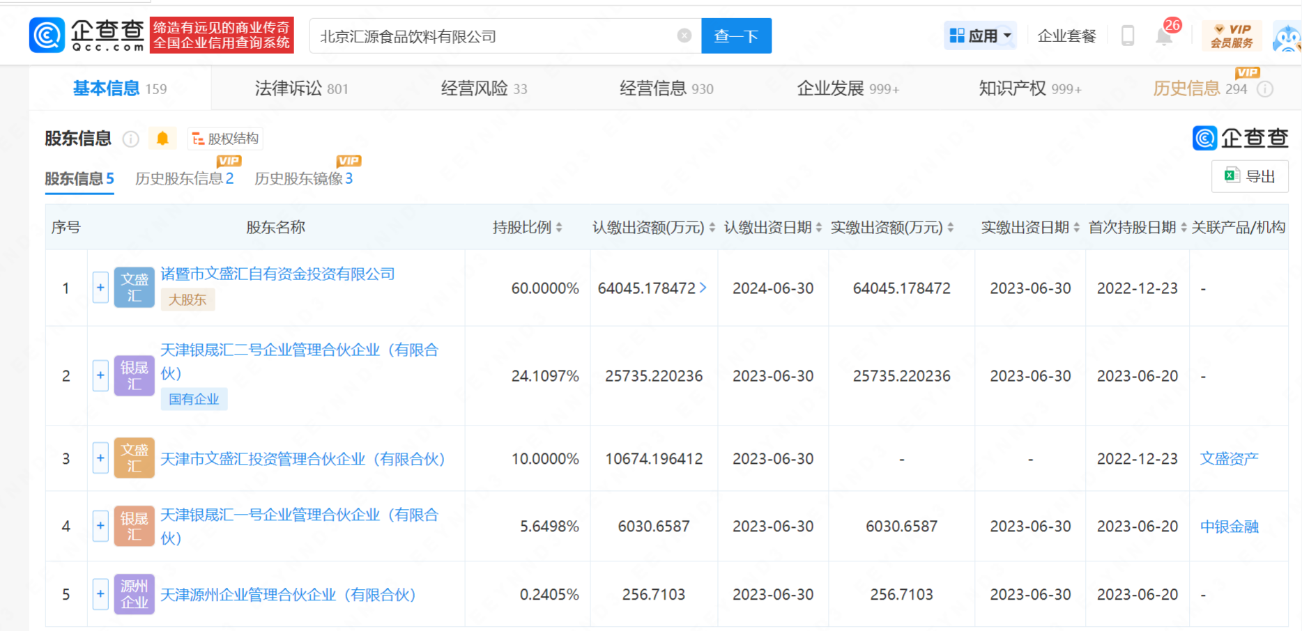
據公開信,諸暨文盛匯實繳出資僅佔北京匯源註冊資本的22.8%,其承諾的投資總額中尚有8.5億未到賬。在逾期的超一年的時間裏,北京匯源催繳11次仍未實繳。而其目前實際支付的投資款除又管理人支取少量用於清償破產費用和小額債務外,其餘6.47億餘元資金(含利息和履約金)全部由諸暨文盛匯直接管控,分文未投入企業日常經營。
諸暨文盛匯得以直接管控資金是基於在承諾投資16億元的前提,其取得了公司董事會及監事會絕對多席位的提名權,實現了對公司經營管理的全面控制。但諸暨文盛匯並未按約定完成投資義務,北京匯源已對諸暨文盛匯及上海文盛資產管理股份有限公司提起訴訟,該訴訟已被法院受理。
不過,北京匯源也表示,在諸暨文盛匯大比例控制公司董事會及監事會、並提名總經理的情形下,將有機會操縱公司撤回訴訟,以掩蓋其出資不實的事實,並逃避其對公司應承擔的違約及賠償責任的目的。
對此,上海國瓴律師事務所高慧律師表示,根據《公司法》第四十九條,股東完成出資需滿足財產交付與權屬轉移雙重條件。具體到貨幣出資,需將資金足額存入公司賬户並完成權屬轉移,且資金需實際用於公司經營。
“若資金雖然在公司賬户但被股東實質支配,可能構成‘濫用控制權’,若通過協議控制資金流行,也可能被認定為‘其他抽逃行為’。”高慧律師也補充道,“資金需用於公司經營,抽逃可能構成刑事犯罪。”
除了扭曲了公司的管理權,北京匯源還指出,諸暨文盛匯的部分提案也可能直接影響各位轉股債權人的利益。在8月11日的臨時股東會上,諸暨文盛匯提議以北京匯源資本公積來彌補虧損。
但截至目前,尚有大多數債權人暫未受領北京匯源股權(資本公積半數以上存在不確定性),若此時以資本公積彌補虧損等於逼迫相關債權人被動確認債轉股行為,變相剝奪了債權人的選擇權。
高慧律師認為,諸暨文盛匯提議的“以資本公積彌補虧損”在合法性與合理性層面均存在重大爭議,其核心矛盾在於資本公積的法律屬性、程序合規性及對債權人權益的實質影響。
根據2024年新《公司法》第二百一十四條及財政部《關於公司法、外商投資法施行後有關財務處理問題的通知》(財資〔2025〕101號),資本公積補虧需滿足三重條件:
1. 順序優先性:必須先使用任意公積金和法定公積金,仍不足時方可動用資本公積;
2. 來源合法性:僅能使用“股東投入形成的金額確定、由全體股東共享且未限定用途的資本公積金”,且需剔除特定股東專享或附帶條件的部分;
3. 程序合規性:需經股東會決議並在30日內通知債權人,同時在財務報表中單獨披露。
高慧律師向觀察者網表示,目前無公開信息表明北京匯源已優先使用任意公積金和法定公積金,若未履行這一前置程序,直接動用資本公積金補虧將構成對法律強制性規定的違反。
“北京匯源資本公積中約有55.3億元來自債轉股,但目前尚有17名債權人未受領股權,根據財政部通知,‘屬於附帶條件導致增加的資本公積金數額可能出現變動的,需待數額固定後才能彌補虧損’,而匯源的資本公積中存在大量‘未固定’部分,此時補虧涉嫌違反‘金額確定’的規定。”
同時,在程序上,若文盛匯通過協議控制董事會直接推動補虧方案,而未召開股東會或未獲得其他股東,特別是債轉股股東的有效表決,可能違反“通知債權人或向社會公告”的程序要求以及構成《公司法》規定的“決議可撤銷事由”。
有業內人士認為,在諸暨文盛匯全面掌控公司的情況下,北京匯源的公開信是一步“險棋”,呼籲更多的股東和轉股債權人站出來有機會改變其被動的局面。
但高慧律師表示,某種程度上可能改變被動局面,但也存在很大的現實挑戰,股東與債權人需在臨時股東會前達成行動共識,通過法律程度和輿論壓力迫使諸暨文盛匯妥協。
16億注資爭議懸而未決
北京匯源“改姓”諸暨文盛匯自2022年被法院裁定重整程序之後。
諸暨文盛匯作為上海文盛資產管理股份有限公司(下稱“文盛資產”)參與重整計劃的持股平台,“斥重金”斬獲北京匯源60%的股權並開始控股擁有原匯源果汁的所有商標及品牌所有權、銷售渠道、及部分生產設備。北京匯源則將生產外包給匯源集團(在匯源果汁取消上市地位後,果園種植基地及大部分生產線的擁有權被劃給匯源集團)。


文盛資產是國內知名的民營不良資產管理機構,前身為2003年設立的浙江文化控股,主要聚焦在不良資產處理、困境企業重組、困境地產重組三大領域。
據文盛資產官網,其背後的資方包括中國東方資產、中金公司、杭州工商信託、CaVal Investor、鼎暉投資、美國黑石集團、廣發證券、廣東民營投資股份有限公司。此外,在2020年文盛資產與CaVal Investor組建上海嘉沃文盛股權投資合夥企業,並申請了QFLP(合格境外有限合夥人);2021年,文盛資產與美國華平投資共同成立“文盛特殊機會資產管理公司”,該平台擬投資總額6億美元。
除了匯源果汁,昔日的“女裝第一股”拉夏貝爾的背後也有文盛資產的身影。2021年3月,在上海其錦企業管理合夥企業(有限合夥)(下稱“上海其錦”)和文盛資產收購了拉夏貝爾11.24%的股權後,文盛資產及其一致行動人上海其錦共持有拉夏貝爾19.50%的股份,成為其第一大股東。
根據拉夏貝爾總裁張瀅的説法,大股東文盛資產在債務和資金方面給公司幫助,經營管理方面給了管理團隊足夠的自主權。這一定程度上是因為文盛資產缺乏品牌管理經驗,拉夏貝爾在其控股期間並未實現扭虧,最終以退出控股完成其資產角色的改變。
今年7月,拉夏貝爾的實際控制人變更為王國良,杭州金穗豐華企業管理合夥企業成為控股股東,持股65%,文盛資產目前的持股比例降至3.94%。
但文盛資產對匯源的野心更大,不僅支持債務釐清的問題,還包含着後續的生產經營的強化。
據文盛資產曾披露的細節,針對匯源80億的債務問題,文盛資產給出了三種化債方案:職工債權和税款債權以現金方式一次性全額清償;有財產擔保債權以留債方式全額清償;100萬元以下的小額普通債權以現金方式一次性清償,超過100萬元的普通債權以債轉股方式全額清償。
在文盛資產計劃投入的16億資金中,只有一小部分支付匯源破產費用和償還小額債權(有媒體報道稱,約為1億元),90%以上的資金將用於匯源的生產經營升級和強化。
根據重整計劃,文盛資產向北京匯源的增資分3期,期限為三年。三期的增資分別為7.5億、3.8億和4.7億,截至目前僅有首期到賬。
有媒體報道稱,對資金究竟是注入註冊資本還是資本公積比例(北京匯源認為7.5億首期款中一部分是註冊資本,一部分是資本公積,但文盛資產並不同意),雙方爭執至今沒有定論,這也可能是後期款項未能到賬的主要原因。
高慧律師表示,若7.5億元首期款計入註冊資本,將增強北京匯源償債能力的法定基礎,並直接提升債權人受償保障,“若文盛資產足額注資,債權人可通過破產程序優先受償法定資本部分”;若計入資本公積雖然可以提升匯源淨資產增加,但法定償債能力未獲得實質性增強,且因資本公積歸屬全體股東,文盛匯若單獨控制該資金,可能侵犯其他股東或債權人利益。
匯源上市計劃擱淺
值得注意的是,文盛資產還曾表示,力爭在三到五年內帶領匯源實現A股上市。
就匯源的發展態勢來看,上市很有可能還是通過引入上市公司投資人,進而實現借殼上市。
這個“殼”差點就成為了國中水務(600187.SH),這個主要從事污水處理和環保技術的企業希望通過控制北京匯源來實現轉型。
從2022年底起,國中水務已經多次間接持有北京匯源股權。據其2024年三季度報,其已經持有諸暨文盛匯36.486%股權,間接持有北京匯源21.8916%股權。
通過間接投資北京匯源,國中水務已經獲得了顯著收益。據國中水務年報,2022-2024年,國中水務的營業收入分別為2.90億、2.26億和1.79億,較同期分別下降24.71%、21.92%和20.73%;歸母淨利潤分別為-1.16億、3035萬和4357萬;分別同比增長-27.82%、126.22%和43.58%。


國中水務還想通過收購諸暨文盛匯不低於51%的股權成為其控股股東及北京匯源的間接控股股東。不過,4月23日,國中水務對外宣佈終止對匯源果汁的收購事項,公告表示,交易終止主要因為截至公告日,交易標的的股權仍處在凍結狀態,存在限制轉讓的情形。
文盛資產被凍結的幕後推手是其股東粵民投(持股4.96%):粵民投慧橋捌號(深圳)和慧橋叁號(深圳)以侵權責任糾紛為由,向深圳市福田區法院提起訴訟保全,凍結了上海邕睿所持諸暨文盛匯52.47%股權。
侵權責任糾紛也與國中水務和北京匯源密切相關。粵民投認為,文盛資產通過子公司向國中水務轉讓諸暨文盛匯的股權所獲得的資金流向不明,涉嫌轉移資產或違規使用,並要求文盛資產公開資金用途。
有媒體認為,北京匯源與文盛資產矛盾的公開化也是粵民凍結資產導致國中水務收購終止的連鎖反應。
香頌資本執行董事沈萌在採訪中指出,文盛資產運作北京匯源重組本身就有資本玩家借重組謀取超額回報的意味,這種運作模式一旦某個環節條件無法達成就會引發各方矛盾。
這場關乎國民品牌命運的博弈,或許才剛剛進入高潮。