山東12家城商行中期業績分析:穩健增長顯現區域金融韌性
王力邮箱:[email protected]
【文/羽扇觀金工作室】
區域經濟支撐下,山東地方銀行展現強勁發展動能。2025年中期業績披露季落下帷幕,山東省12家城市商業銀行交出了一份亮眼的成績單。
數據顯示,在區域經濟韌性持續顯現的背景下,這些地方法人金融機構在資產規模擴張、盈利能力提升、風險管控等多個維度均表現出色,為區域金融穩定發展注入了強勁動力。
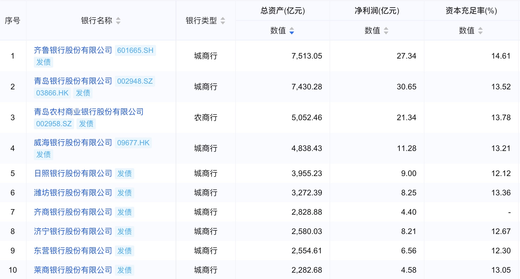
資產規模競爭激烈,頭部銀行優勢凸顯
從資產規模來看,山東城商行板塊呈現出明顯的梯隊分化特徵。截至2025年6月末,齊魯銀行以7513.05億元的總資產規模穩居榜首,青島銀行緊隨其後,達到7430.28億元,兩家銀行在資產規模上形成了"雙雄並立"的競爭格局。

值得關注的是,臨商銀行在資產規模增速方面表現搶眼,較2024年末增長13.04%,成為增速最快的銀行。泰安銀行、濟寧銀行、東營銀行也分別實現了11.89%、8.54%和8.00%的快速增長,顯示出中小城商行強勁的擴張勢頭。
業內分析人士指出,山東城商行資產規模的持續擴張主要得益於區域經濟的穩定復甦和信貸需求的逐步釋放。隨着山東省新舊動能轉換重大工程的深入推進,製造業轉型升級、基礎設施建設等領域對金融服務的需求持續增長,為銀行業務發展提供了廣闊空間。
盈利能力全面提升,營收結構持續優化
營業收入方面,12家銀行中除萊商銀行外均公佈了相關數據。青島銀行以76.62億元的營收規模位居第一,齊魯銀行以67.82億元排名第二,兩大頭部銀行的營收優勢進一步鞏固。
從增長勢頭來看,煙台銀行表現最為亮眼,營收同比增長17.35%,濟寧銀行和泰安銀行也分別實現了15.89%和13.02%的較高增速。大部分銀行營收增速維持在5%-10%的合理區間,反映出行業整體盈利能力的穩步提升。
淨利潤指標同樣表現出色。青島銀行實現淨利潤31.52億元,繼續保持領先地位;齊魯銀行淨利潤達到27.27億元,位居第二。臨商銀行淨利潤同比增長19.03%,增速位列第一,濟寧銀行、青島銀行等也實現了兩位數增長,展現出強勁的盈利增長動能。
收入結構分化明顯,非息業務待提升
深入分析收入結構,利息淨收入作為銀行傳統核心收入來源,仍然發揮着重要作用。煙台銀行利息淨收入同比大增28.85%,增速領跑;濟寧銀行、濰坊銀行也分別實現了21.20%和16.34%的顯著增長,顯示出銀行在傳統信貸業務上的持續發力。
然而,在手續費及佣金淨收入方面,各銀行表現出現分化。東營銀行、臨商銀行等出現不同程度下降,而青島銀行、日照銀行則實現了正增長。這一現象反映出銀行在中間業務發展上的差異化策略和執行效果。
投資收益方面亮點突出,青島銀行投資收益達到15.09億元,同比大增93.96%,成為非息收入增長的重要驅動力。濟寧銀行、威海銀行在投資業務上也有不俗表現,顯示出銀行在資產配置和投資管理方面的專業能力不斷增強。
資產質量是銀行經營穩健性的重要標誌。從不良貸款率來看,大部分山東城商行維持在1%-2%的較低水平,整體資產質量保持穩定。特別是青島銀行、齊魯銀行等頭部銀行的不良率較2024年末有所下降,資產質量呈現持續改善態勢。
撥備覆蓋率方面,各銀行風險緩釋能力顯著提升。濟寧銀行撥備覆蓋率達到334.76%,較上年末增加34.54個百分點;齊魯銀行、青島銀行、濰坊銀行等也有不同程度提高,充分體現了銀行對風險防控的重視和前瞻性佈局。
資本充足率指標同樣表現良好,大部分銀行核心一級資本充足率保持在8%以上,整體資本充足率均符合監管要求,為銀行業務的持續健康發展奠定了堅實基礎。
區域經濟韌性支撐,發展前景廣闊
山東城商行的優異表現離不開區域經濟的有力支撐。作為經濟大省,山東在製造業、海洋經濟、現代服務業等領域優勢明顯,為銀行業發展提供了豐富的業務場景和增長空間。
數據顯示,2025年上半年山東省GDP同比增長6.2%,高於全國平均水平,經濟運行呈現穩中向好態勢。新舊動能轉換成效顯著,高端化工、現代高效農業、文化創意、精品旅遊等十強產業蓬勃發展,為銀行拓展特色業務、優化客户結構創造了良好條件。
從12家銀行的表現來看,呈現出明顯的差異化發展特徵。齊魯銀行、青島銀行憑藉規模優勢和品牌影響力,在綜合競爭力上繼續保持領先;濟寧銀行、濰坊銀行等憑藉較快的增長速度和靈活的經營策略,展現出強勁的發展潛力;煙台銀行、臨商銀行等在特定業務領域形成了自身特色和優勢。
業內專家認為,這種差異化發展格局有利於銀行根據自身稟賦和市場定位,制定針對性的發展策略,避免同質化競爭,提升整體行業效率。
展望下半年,山東城商行面臨的發展環境既有機遇也有挑戰。從機遇角度看,區域經濟持續恢復,基礎設施建設、製造業升級、消費升級等領域將帶來更多金融服務需求;從挑戰角度看,利率市場化深化、金融科技衝擊、監管要求趨嚴等因素對銀行傳統經營模式提出了更高要求。
在此背景下,如何在保持資產質量穩定的前提下,進一步優化收入結構、提高非息收入佔比,將成為各銀行需要重點關注的發展方向。同時,加強金融科技應用、提升數字化服務能力、深化產品創新也將是銀行保持競爭優勢的關鍵所在。
本文系觀察者網獨家稿件,未經授權,不得轉載。