萬達再被凍結94億股權,王健林重出江湖做文旅?
朱道义

(文/朱道義 編輯/張廣凱)
開啓“賣賣賣”模式的萬達集團,仍未成功從債務漩渦中脱身。

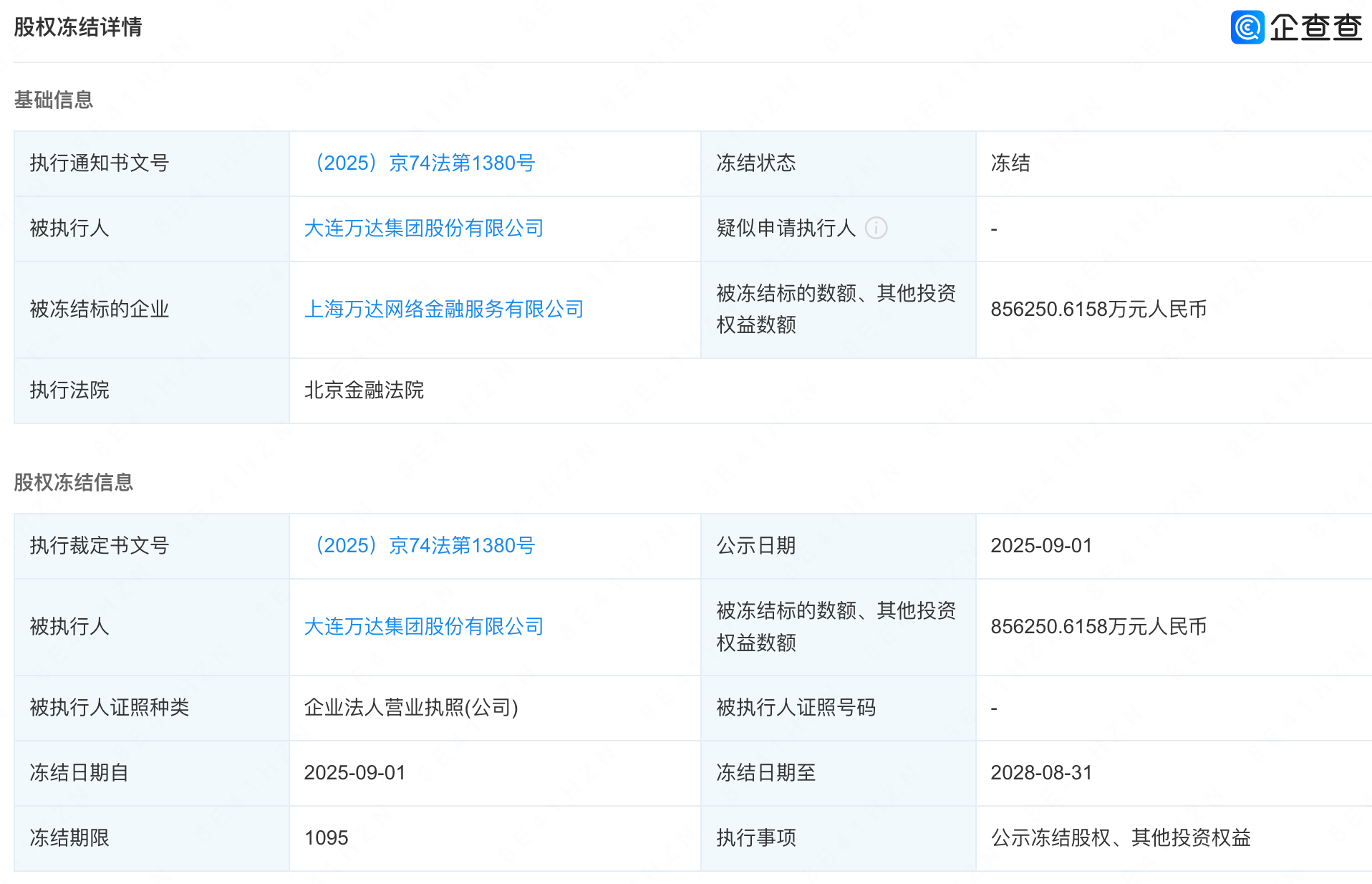
近日,企查查APP顯示,大連萬達集團股份有限公司(以下簡稱:萬達集團)新增兩則股權凍結信息,凍結股權數額合計超94億元,凍結期限三年,執行法院為北京金融法院。其中,包含上海萬達網絡金融服務有限公司約85.62億元股權和上海萬達小額貸款有限公司的8.4億元股權。


工商信息顯示,上海萬達網絡金融服務有限公司成立於2015年3月。據官網,萬惠雲創包含“萬達錢包”和“萬達普惠”兩大業務。萬達錢包是萬達集團旗下面向萬達業態客羣的科技金融產品,智能整合先享後付、小額信貸、充值預付等金融服務功能。萬達普惠致力於為普羅大眾、小微企業提供有特色、優質便捷的金融服務。上海萬達小額貸款有限公司則於2016年1月成立,主要立足萬達生態場景,為普羅大眾和小微企業提供高效、優質、普惠的綜合金融服務。
值得注意的是,這是近一週內,萬達出現的第二起大額股權凍結。8月27日,其旗下的大連萬達商業管理集團股份有限公司(以下簡稱:萬達商管)被凍結19.79億元股權。期限同樣為三年,執行法院也為北京金融法院。
對於萬達頻繁出現股權凍結情況,中國企業資本聯盟副理事長柏文喜指出,直接原因是債務問題,從公開司法信息看,每一次股權凍結幾乎都對應一筆到期未清償的債務,涉及銀行貸款、信託計劃等。
“其次,則涉及到此前‘對賭問題’。珠海萬達商管Pre-IPO輪融資時,與投資人簽署了對賭協議:若2023年底前不能上市,須按8%年息回購約380億元股權。因上市未能完成,投資人啓動追償,引發了2023~2024年的第一輪密集凍結。”
資料顯示,萬達集團成立於1992年9月,法定代表人為王健林,是涵蓋商業地產、連鎖百貨、文旅集團和投資管理等產業為主的大型企業集團。
其債務壓力,主要源於此前投資失策。2016年,王健林公開叫板迪士尼,並霸氣表示要在2020年前將萬達文旅城開遍全國。當時下半年,萬達就開始在全國各地大規模投資文旅城,這些文旅項目的單體投資都接近400億。然而資金鍊很快吃緊、項目推進困難,王健林不得不在2017年忍痛割愛,將全國十來家文旅城整體賣給了融創,同時將近80家五星級酒店打包出售給富力集團。這一系列資產拋售,一定程度緩解了資金壓力。
但為了進一步改善局面,王健林又將目光投向資本市場。同樣是2016年,因萬達在港股估值低迷,他將萬達從港股退市去衝擊A股,試圖通過上市來籌集資金,並大膽簽訂了“對賭協議”。但監管政策突變,導致其上市夢碎,從2016至2023年,他先後進行了三次上市對賭,但命運並未眷顧,這三次對賭均以失敗告終,每一次失敗都讓萬達的債務負擔愈發沉重。
截至目前,萬達集團共有10條被執行人信息,合計被執行金額為49.29億元;25條歷史被執行人信息,被執行金額89.61億元;37條股權凍結信息,涉及旗下多家企業,本次凍結數額為最大。

萬達集團的現金流情況也不容樂觀。截至2024年9月,萬達商管的一年內到期的短債超過439億元,而貨幣資金只有151億元。短期債務的集中到期,對萬達的現金流構成了巨大挑戰。
面對嚴峻的債務形勢,王健林再次啓動了大規模的資產拋售模式。去年,萬達不僅出售了26座萬達廣場,還喪失了對珠海萬達商管的控制權,這是王健林手中最重要的籌碼。太盟等機構聯合投資約600億元后,大連萬達商管對珠海萬達商管的持股比例從78.83%降至40%,王健林不再掌舵。
今年,萬達資產拋售的節奏進一步加快。4月份,王健林作價24.9億元將萬達酒店管理公司100%股權賣給同程旅行。5月份,國家市場監督管理總局批准了由太盟、高和豐德、騰訊、京東潘達、陽光人壽等機構組成的聯合體對大連萬達商管旗下48家目標公司的收購案,涉及全國39個城市的48座萬達廣場。7月份,又準備以2.4億元的價格將快錢金融30%股權賣給中國儒意。
有市場消息稱,5月份交易的金額將達到500億元,會大大緩解萬達集團的流動性壓力。就在8月25日,這筆交易迎來實質性進展,由太盟、高和豐德、騰訊、京東潘達等13家企業組成的私募基金“蘇州寬遇”成立,總出資額224.29億元。此外,萬達還分別與京東、騰訊成立了合資企業。
值得注意的是,71歲的王健林於近期罕見現身。8月20日~21日,王健林在克拉瑪依考察招商引資、文旅發展等工作,探討和當地合作的可能性,也為萬達尋求新的可能性。

王健林表示,“克拉瑪依就像是新疆的一顆明珠,超出預期,這裏的旅遊資源豐富,獨山子大峽谷、世界魔鬼城景區在中國乃至世界都是獨有的。資源稟賦是很好的,就是需要怎麼進一步提升,我去看了獨庫公路,一年有150萬輛車經過,怎麼樣使這種資源能夠提升更大化,總體來看,克拉瑪依的旅遊資源還可以,但是項目本身的規劃設計、運營程度,可能有些地方跟先進地區相比可能還是有需要提高的地方。我們也正在探討和克拉瑪依合作的可能性,我們是有興趣,我們這幾方一起合作,全面提升克拉瑪依,無論是城市的發展,還是老百姓幸福指數,肯定是對克拉瑪依有巨大幫助的。”