甬興證券又現管理層變動,旗下資管公司剛換帥
guancha
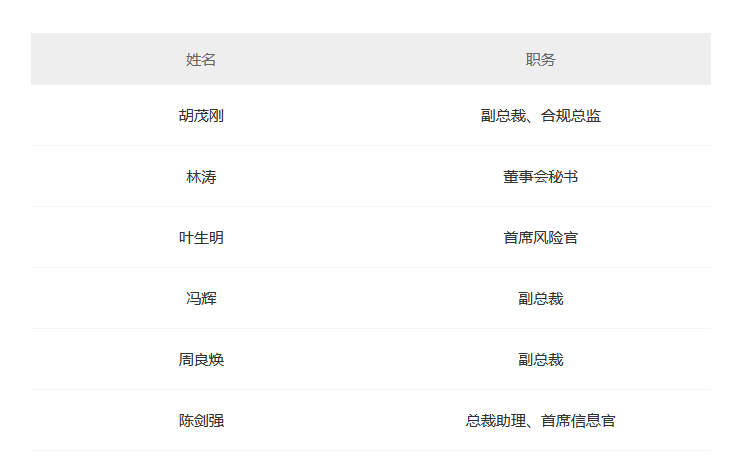
近日,甬興證券官網顯示,分管財富業務的副總裁兼首席信息官庹軍民已離任,甬興證券總裁助理陳劍強接任首席信息官一職,目前官網已更新相關職務變動。

公開資料顯示,庹軍民曾就職於上海證券交易所,任技術規劃與服務部副總監;自2016年起就職於申港證券,2020年加盟甬興證券。
2022年,甬興證券向兩融業務“擴圍”。證監會發布對甬興證券有限公司申請融資融券業務資格事項反饋意見。其中指出,庹軍民擬分管融資融券業務,庹軍民分管的業務部門包括財富事業部、運營管理部、金融科技事業部,擔任資管子公司CIO。對此,證監會要求公司就上述分管部門和資管子公司CIO的職責以及是否與融資融券業務存在利益衝突進行説明。
據介紹,甬興證券於2020年1月22日獲得證監會核准設立,並於2020年3月16日取得營業執照,股東為寧波開發投資集團有限公司和寧波市金融控股有限公司,為寧波唯一一家本土券商,業務範圍為證券經紀、證券投資諮詢、證券自營、證券承銷與保薦、證券投資基金銷售。
今年以來,甬興證券管理層已發生一系列變動。
今年3月,甬興證券原總裁劉化軍繼2024年10月卸任總裁職位後,再度卸任暫代的首席風險官職位,正式退休。現任總裁聞明剛暫代首席風險官,分管人力、戰略發展部、風險管理部、辦公室等職能部門。6月,華興證券原首席風險官兼董事會秘書葉生明加盟甬興證券任首席風險官。
甬興證券旗下資管子公司甬證資管同樣迎來重要人事變動。
9月初,有媒體報道指出,甬證資管董事長由李抱變更為聞明剛。目前,李抱擔任甬興證券董事長,聞明剛擔任甬興證券總裁和甬證資管董事長。
值得關注的是,聞明剛就任甬證資管董事長時,距其出任甬興證券總裁尚不足一年。2024年10月,甬興證券官網公告顯示,公司於當日上午舉行公司領導調整會議,經公司黨委、董事會會議審議通過,聘任聞明剛為公司總裁;劉化軍因即將到齡退休,不再擔任公司總裁職務。
除了董事長的變動,甬證資管在今年早些時候已對總經理職務進行了調整。今年3月,甬證資管原董事、總經理馮恂卸任。山證資管原副總經理許煜已於3月19日出任甬證資管董事、總經理。
(觀察者網綜合甬興證券官網、每日經濟新聞、界面新聞)
本文系觀察者網獨家稿件,未經授權,不得轉載。