餓了麼六項措施堅決打擊“幽靈外賣” 堅持不懈加強食安合規經營整治
【環球網科技綜合報道】來自餓了麼最新數據顯示,平台正在進行的專項整治行動,已累計清退超過3.1萬家違規商户,其中包括大量涉嫌“幽靈外賣”的店鋪。餓了麼表示,還將進一步藉助AI技術打擊“幽靈外賣”,並且大力推廣AI加持的“明廚亮灶”。
“幽靈外賣”一般指資質存在問題但通過造假等手段進行線上運營的餐飲商户,這類商家往往存在比較大的食品安全隱患,也是監管部門與外賣平台所重點整治的對象。餓了麼官網信息顯示,平台已採取包括:加強商户入網審核、全面排查風險商户、提升風險識別能力、暢通公眾舉報渠道、建立公示披露機制、強化商户合規意識等六項措施重點整治“幽靈外賣”。

在打擊“幽靈外賣”的過程中,餓了麼以AI智能識別技術和人工複核相結合的方式,嚴格查驗門頭圖、內景圖、營業執照、食品經營許可證等相關資質的真實性,在店鋪創建前攔截假圖、盜圖、PS圖等虛假材料。自專項行動開展以來,餓了麼攔截虛假建店2萬餘次。
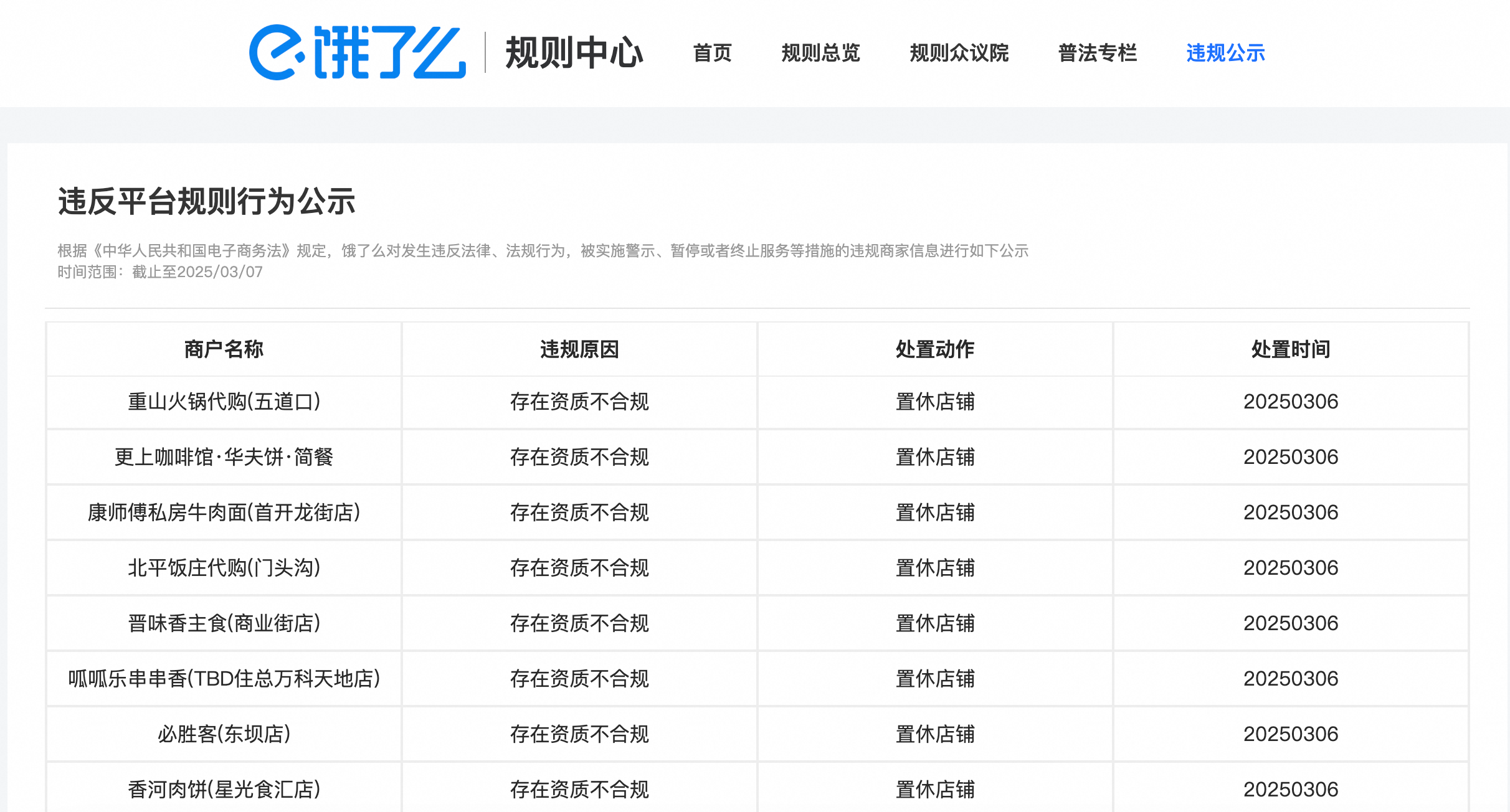
為充分發揮社會共治作用,餓了麼面向用户以及騎手均開放了相關的舉報入口。收到線索後,餓了麼會在第一時間響應,並儘快完成核查,同時緊密配合政府監管部門指令,確有問題的商户,限期整改或直接清理下線。對存在證照問題、證地不符等嚴重違規的商家,平台將在“餓了麼外賣規則中心”進行公開披露。

此外,餓了麼還以AI技術加持“互聯網+明廚亮灶”持續提升平台商家的食品安全管理能力。餓了麼開發了“明廚亮灶感知平台”,不斷迭代AI技術,對視頻監控發現的後廚環境異常、不規範操作行為等進行更為精準的視頻圖像語義動態識別。比如,自動識別後廚的廚師是否存在吸煙、赤膊等行為。平台通過商家後台管理系統,對發現各類異常的商户進行點對點觸達提醒,幫助商户更快發現後廚存在的管理問題,督促其加強管理,為消費者提供更放心的服務。
為了讓“明廚亮灶”功能更好地發揮作用,餓了麼還上線了AI巡查功能,並且為消費者提供了“異常一鍵反饋”按鈕。一旦發現直播無法查看,餓了麼會及時通知商户並督促其進行整改,如遇技術問題會聯合視頻運營商一同支持技術保障。(勃潺)