伊萬卡3個月在華註冊13個商標 被批通過其父總統身份搞腐敗
【文/觀察者網 王愷雯】前兩天剛因為“曬娃”被圍攻的美國“第一女兒”伊萬卡·特朗普又被批了,這次是因為其公司在中國註冊商標。
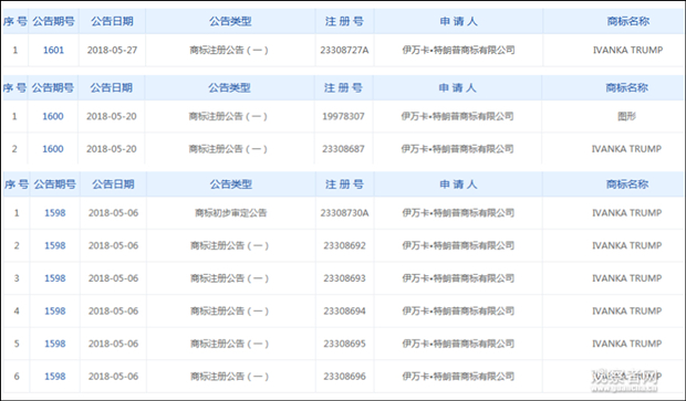
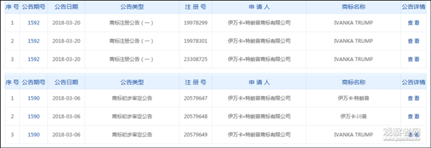
據美聯社29日報道,在過去的三個月裏,中國通過了伊萬卡公司13個商標的審查,與此同時,該公司的另外8個商標也已被初步批准。
對此,美國有團體批評稱,伊萬卡不願放棄自己的業務尤其令人擔憂,因為她有可能通過自己的地位和其父的總統身份獲得經濟利益,從而涉及腐敗問題。
不少美國網民也痛批伊萬卡“腐敗”,有人直截了當質問她,知道“裙帶關係”(nepotism)怎麼拼寫嗎?

伊萬卡·特朗普 圖自《紐約時報》
據報道,伊萬卡在中國的品牌涵蓋了人一生需要使用的東西,從嬰兒毯到棺材,以及香水、化妝品、餐具、鏡子、傢俱、咖啡、巧克力等各方面。
觀察者網查詢中國商標網發現,伊萬卡的這家公司全稱為“伊萬卡·特朗普商標有限公司”,在中國商標網能查詢到72個申請記錄,商標名稱則涵蓋“IVANKA TRUMP”、“伊萬卡·特朗普”、“伊萬卡·川普”等,首個商標申請時間為2008年12月25日。



三個月來,伊萬卡·特朗普商標有限公司在中國獲批及初審的商標 中國商標網截圖
其最新獲批的一項商標註冊公告日期為5月27日,商標名稱為“IVANKA TRUMP”,商品/服務範圍包括:質量評估、地質勘探、化學研究、計算機軟件更新服務、氣象預報、服裝設計、筆跡分析(筆跡學)、無形資產評估、替他人創建和維護網站、地圖繪製服務等。
美聯社指出,截至28日的數據顯示,至少有25個伊萬卡·特朗普商標有待審查,36個獲准註冊,8個獲得初步批准。除了在中國註冊的這些商標,伊萬卡的公司在菲律賓也成功註冊了3個商標。
作為特朗普的女兒,伊萬卡的身份自從他父親出任美國總統後就變得微妙起來,更何況,她和丈夫庫什納此後還前後進入白宮擔任特朗普的顧問,這樣的政商背景,讓她的一舉一動都受到關注。

伊萬卡和庫什納 圖自外媒
因此,在中國註冊那麼多商標,也引發了美國國內的質疑聲和批評聲。
美聯社稱,儘管伊萬卡退出了其公司的品牌管理,將資產投入到家族運營的基金公司,但是她本人仍然從中牟利。
美國社會組織“公民責任和倫理”(Citizens for Responsibility and Ethics)執行主任諾阿∙布克拜因德(Noah Bookbinder)表示:“伊萬卡∙特朗普不願放棄自己的業務尤其令人擔憂,因為伊萬卡品牌持續在海外擴張。”
“這涉及嚴重的腐敗問題,因為她有可能通過自己的地位和其父的總統身份獲得經濟利益,或者她經商的國家可能對她的政治工作產生影響。”
《紐約時報》援引專家的觀點,稱最近一系列商標授權所需的時間似乎與此前一樣,但更廣泛地來看,伊萬卡在中國獲得越來越多的商標及其家族在中國的商業利益引發了一個問題:特朗普家族是否會在中國獲得一般人得不到的特殊考慮?

位於紐約的特朗普大廈 圖自外媒
一名批評人士則指出,與伊萬卡做生意的外國政府知道,他們是在與總統的女兒打交道——她也是在白宮工作的人。
民主21(Democracy 21)組織領導人弗雷德·韋特海默(Fred Wertheimer)和“公民責任與倫理”負責人諾曼·艾森(Norman Eisen)認為,“一些國家無疑會認為這是討好特朗普的一種方式,其他國家可能會把他女兒的公司提出的商業請求視為他們不能拒絕的請求。”
美國網民也對此事表示不滿,有的痛批伊萬卡“腐敗”:

有的略帶諷刺地指出這是伊萬卡成為總統的“前提”

還有的則指出共和黨對伊萬卡所作所為視而不見

伊萬卡公司代表:註冊商標是為保護權益
對於在海外註冊商標,伊萬卡的公司給出了與上述批評截然不同的解釋,其聲稱這些商標是為了阻止他人用伊萬卡的名字牟利。
伊萬卡品牌總裁阿比蓋爾·克萊姆(Abigail Klem)表示,該品牌對商標的保護是“正常的商業行動”,尤其是在商標侵權猖獗的地區,已經申請、更新、和嚴格保護其國際商標。
“我們最近看到,一些無關的第三方申請商標數量激增,他們試圖利用這個名字,我們有責任努力保護我們的商標。”
《紐約時報》稱,在中國,有不少人利用著名品牌和名人的名字註冊商標,將其“佔有”,希望從中獲利。北京天達共和律師事務所知識產權部門負責人馮超説,已經有10多件與伊萬卡本人無關的伊萬卡商標。
其中包括南方城市佛山的一家公司用伊萬卡的拼音為公司的衞生巾和衞生棉條註冊的“Yiwanka”商標,南京的好女兒酒業有限公司用英文的Ivanka Trump和中文的伊萬卡·特朗普註冊了商標。
另據英國《金融時報》2017年2月報道,當時以特朗普女兒伊萬卡的名字命名的中國企業多達40家,其中絕大多數公司成立於特朗普獲選美國總統後,涉及服飾、美容、內衣等多個行業。
除了伊萬卡,特朗普本人自然也逃不了“被註冊”的尷尬,《金融時報》稱,據中國國家工商行政管理總局數據顯示,自從2016年初以來,特朗普字樣被註冊到公司名稱中的現象非常氾濫,在美國大選時段達到了頂峯。

以“TRUMP”命名的衞浴產品
2017年2月之前14個月,至少有80家中國公司註冊名稱中含有兩種常見的“Trump”的中文譯名:特朗普和川普。而其中,大約有60家公司註冊於特朗普勝選之後。
2006年12月7日,特朗普本人遞交了“TRUMP”商標的申請,但就在此前兩週,一個名叫董偉(音)的中國人就已經註冊了該商標,並在其“創普”實業有限公司的馬桶等衞浴產品上使用。
為此,特朗普一次又一次上訴,直到2016年9月6日,國家商標局宣佈董偉的商標無效,緊接着,11月3日,特朗普的商標在中國商標局公示,三個月後,即2月13日,公示過程中沒有異議,特朗普終於得以在中國擁有以自己名字作為商標的使用權。
本文系觀察者網獨家稿件,文章內容純屬作者個人觀點,不代表平台觀點,未經授權,不得轉載,否則將追究法律責任。關注觀察者網微信guanchacn,每日閲讀趣味文章。