知情人士回應王健林被限高:或因執行層面信息不對稱導致
guancha
大連萬達集團股份有限公司及其法定代表人王健林等,9月28日傳出被限制高消費。開啓“賣賣賣”模式的萬達集團,今年來已陸續出售7座萬達廣場,但仍未成功從債務漩渦中脱身。
關於王健林被“限高”的消息,萬達知情人士對財聯社記者表示,“此次是由於萬達下屬項目公司經濟糾紛導致,事實上之前雙方一直在通過多種方式協商解決,我們也正在瞭解具體情況,本次或因在執行層面信息不對稱導致。”
天眼查App顯示,這則限制消費令的執行法院為甘肅省蘭州市中級人民法院。案件流程信息顯示,今年7月,大連萬達集團股份有限公司等已因此案被執行1.86億餘元。

案件審理流程。企查查APP
大連萬達集團股份有限公司成立於1992年9月,註冊資本10億人民幣,經營範圍包括貨物進出口、技術進出口、國內一般貿易等。
股東信息顯示,該公司由大連合興投資有限公司、王健林共同持股。天眼風險信息顯示,該公司現存10條被執行人信息,被執行總金額超52億元。
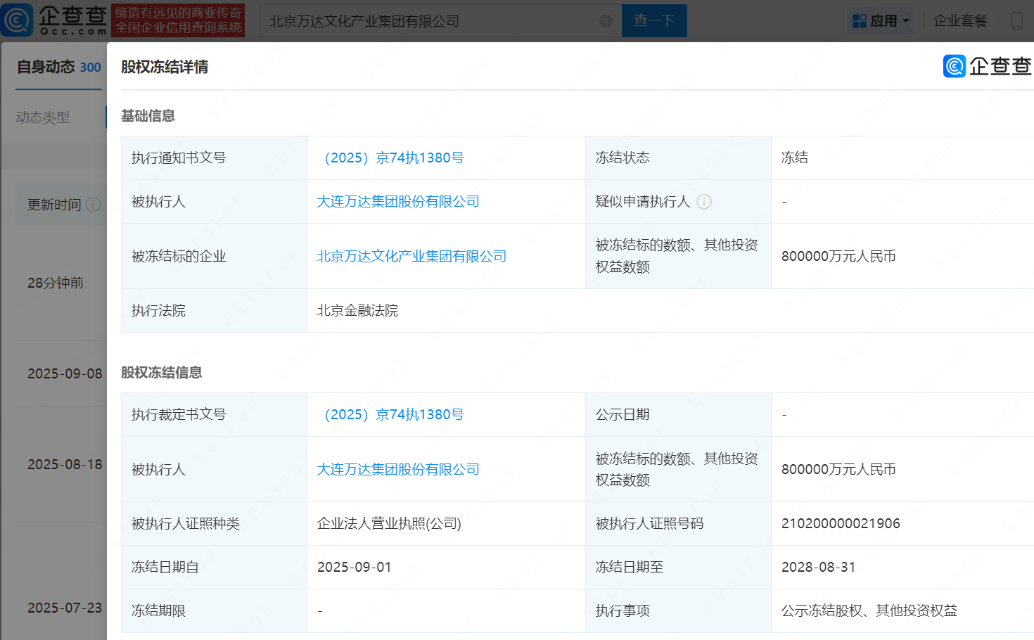
另據企查查APP顯示,近日,北京萬達文化產業集團有限公司再次新增1條股權凍結信息,被執行人為大連萬達集團股份有限公司,凍結股權數額為80億元,凍結期限為2025年9月1日至2028年8月31日,執行法院為北京金融法院。

北京萬達文化產業集團近日再新增一條股權凍結信息。企查查APP
今年3月,北京萬達文化產業集團已被凍結80億元,凍結期限為2025年3月18日至2028年3月17日,執行法院為河南省鄭州市中級人民法院。企查查信息顯示,北京萬達文化產業集團有限公司成立於2012年9月,法定代表人張春遠,註冊資本80億元,由大連萬達集團股份有限公司全資持股。
觀察者網此前報道,對於萬達頻繁出現股權凍結情況,中國企業資本聯盟副理事長柏文喜指出,直接原因是債務問題,從公開司法信息看,每一次股權凍結幾乎都對應一筆到期未清償的債務,涉及銀行貸款、信託計劃等。
已開啓“賣賣賣”模式的萬達集團,仍未成功從債務漩渦中脱身。
其債務壓力,主要源於此前投資失策。
2016年,王健林公開叫板迪士尼,並霸氣表示要在2020年前將萬達文旅城開遍全國。當時下半年,萬達就開始在全國各地大規模投資文旅城,這些文旅項目的單體投資都接近400億。然而資金鍊很快吃緊、項目推進困難,王健林不得不在2017年忍痛割愛,將全國十來家文旅城整體賣給了融創,同時將近80家五星級酒店打包出售給富力集團。這一系列資產拋售,一定程度緩解了資金壓力。
但為了進一步改善局面,王健林又將目光投向資本市場。
同樣是2016年,因萬達在港股估值低迷,他將萬達從港股退市去衝擊A股,試圖通過上市來籌集資金,並大膽簽訂了“對賭協議”。但監管政策突變,導致其上市夢碎,從2016至2023年,他先後進行了三次上市對賭,但命運並未眷顧,這三次對賭均以失敗告終,每一次失敗都讓萬達的債務負擔愈發沉重。
去年,萬達不僅出售了26座萬達廣場,還喪失了對珠海萬達商管的控制權,這是王健林手中最重要的籌碼。太盟等機構聯合投資約600億元后,大連萬達商管對珠海萬達商管的持股比例從78.83%降至40%,王健林不再掌舵。

今年8月,王健林罕見在克拉瑪依現身,探討和當地合作的可能性
今年,萬達資產拋售的節奏進一步加快。
4月份,王健林作價24.9億元將萬達酒店管理公司100%股權賣給同程旅行。5月份,國家市場監督管理總局批准了由太盟、高和豐德、騰訊、京東潘達、陽光人壽等機構組成的聯合體對大連萬達商管旗下48家目標公司的收購案,涉及全國39個城市的48座萬達廣場。7月份,又準備以2.4億元的價格將快錢金融30%股權賣給中國儒意。
有市場消息稱,5月份交易的金額將達到500億元,會大大緩解萬達集團的流動性壓力。
就在8月25日,這筆交易迎來實質性進展,由太盟、高和豐德、騰訊、京東潘達等13家企業組成的私募基金“蘇州寬遇”成立,總出資額224.29億元。此外,萬達還分別與京東、騰訊成立了合資企業。
每日經濟新聞統計,2025年以來,萬達陸續有7座萬達廣場被零散出售,而在2023年-2024年間,據不完全統計,王健林陸續出售超30座萬達廣場。
本文系觀察者網獨家稿件,未經授權,不得轉載。